授权专利
一种伤残人员用辅助支撑装置
公开(公告)号: CN221180988U
摘要附图:

标题: 一种伤残人员用辅助支撑装置
专利类型: 实用新型
申请日: 2023-08-18
公开(公告)日: 2024-06-21
申请号: CN202322228668.9
发明人: 石新
当前申请(专利权)人: 首都医科大学附属北京潞河医院
IPC分类号: A61H3/04
法律状态/事件: 授权
技术功效语段: [0014]1.本实用新型的辅助支撑装置设置了放置存放物品的装置这样的优点方便携带物品:设置了放置存放物品的装置,使用者可以方便地携带必需品,如水瓶、手机、钱包等,无需额外的背包或袋子。这样,在户外活动时,使用者可以随时取用所需物品,提高生活和工作效率。增加安全性:将物品放置在装置上,可以减少物品的丢失或被盗的风险。同时,使用者可以随时注意到放置物品的状态,避免被他人拾取或弄丢。这样,可以提高使用者的安全性和防范意识。提升活动便利性:设置了放置存放物品的装置,使用者无需频繁拿起和放下物品,减少了额外的身体负担。这样可以提高使用者的舒适度和行动便利性,让使用者更加轻松自如地进行各种活动。[0015]2.本实用新型的辅助支撑装置设置了可分离出来的拐杖这样的优点在于便利操作:分离的拐杖使用起来更加方便,使用者可以根据需要自行安装和拆卸,无需额外的工具或帮助。这样可以提高使用者的独立性和自主性,让他们更加方便地进行日常活动和生活自理。适用于特定场景:有些场合可能需要进行一些特殊的活动,如攀爬楼梯、进入狭窄的空间等,辅助支撑装置的体积和形态可能无法适应,但是取出拐杖可直接在特定场景下的行动能力,方便了使用者。
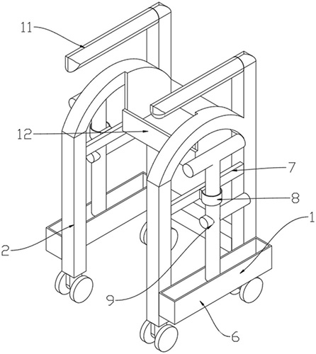
摘要: 一种伤残人员用辅助支撑装置,包括辅助支撑装置,所述辅助支撑装置包括支撑架、移动轮、支撑放置盒、限位套、拐杖、上扶手、放置盒;所述支撑架下方端面设有连接板,所述连接板两侧端面设有转轴,所述转轴两端连接移动轮,所述支撑架之间设有固定板二,所述支撑架之间连接放置盒,所述放置盒与支撑架之间固定连接,所述上拐杖之间连接握把手,所述握把手与上拐杖之间固定连接,所述下延伸杆上方端面连接螺纹柱,所述螺纹柱与下延伸杆之间固定连接,所述下延伸杆下方端面连接橡胶防滑块。本实用新型优点设置了放置存放物品的装置使用者可以方便地携带必需品,无需额外的背包或袋子,设置了可分离出来的拐杖使用起来更加方便。

























