授权专利
一种中医眼部治疗装置
公开(公告)号: CN221181026U
摘要附图:

标题: 一种中医眼部治疗装置
专利类型: 实用新型
申请日: 2023-08-25
公开(公告)日: 2024-06-21
申请号: CN202322303721.7
发明人: 王培
当前申请(专利权)人: 首都医科大学附属北京潞河医院
IPC分类号: A61H33/06 | A61F9/04 | A61M11/00
法律状态/事件: 授权
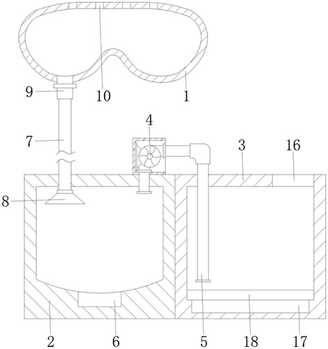
技术功效语段: [0011]1、该中医眼部治疗装置,通过加热块对加热箱内腔的药液进行加热,利用微型水泵与抽水管的配合,将加热后的药液输送至雾化箱的内腔,利用雾化器对药液进行雾化,使雾化后的药液经过输送管与连接头进入熏蒸眼罩的内腔,对眼部进行熏蒸,利用加热块对药液进行持续加热或间断性加热,使药液始终处于温热状态,同时利用输送管的保温效果,使雾化后的药液在进入熏蒸眼罩内腔后仍然处于温热状态,避免雾化后的药液进入熏蒸眼罩内腔时已经冷却,导致熏蒸效果下降的情况。[0012]2、该中医眼部治疗装置,通过将接触棉放置在熏蒸眼罩的一侧,使卡接块卡接至卡接槽的内腔,在佩戴熏蒸眼罩时,使接触棉与患者面部相接触,使接触更加紧密,提高在雾化箱与加热箱的表面设置有观察窗,可以对雾化箱与加热箱内部的药液进行观察,配合观察窗表面的刻度,便于了解剩余药液量,利用温度显示器可以对加热箱内部药液的温度进行显示,使用者根据药液温度控制加热块的开启与关闭,便于对药液温度进行控制。
摘要: 本实用新型公开了一种中医眼部治疗装置,涉及眼部熏蒸技术领域,包括熏蒸眼罩、雾化箱、加热箱,熏蒸眼罩的内部固定安装有连接头,雾化箱的上表面固定安装有微型水泵,微型水泵的输入端固定连接有抽水管,抽水管的一端延伸至加热箱的内腔,雾化箱的内部固定安装有雾化器,雾化箱的内部固定安装有输送管,输送管的底端延伸至雾化箱的内腔且固定连接有进雾口,本实用新型的有益效果为:通过利用加热块对药液进行持续加热或间断性加热,使药液始终处于温热状态,同时利用输送管的保温效果,使雾化后的药液在进入熏蒸眼罩内腔后仍然处于温热状态,避免雾化后的药液进入熏蒸眼罩内腔时已经冷却,导致熏蒸效果下降的情况。

























