授权专利
一种新型便壶
公开(公告)号: CN221308670U
摘要附图:

标题: 一种新型便壶
专利类型: 实用新型
申请日: 2023-09-17
公开(公告)日: 2024-07-12
申请号: CN202322518042.1
发明人: 张艳杰 | 田亚丽
当前申请(专利权)人: 首都医科大学附属北京潞河医院
IPC分类号: A61G9/00 | A47K11/06
法律状态/事件: 授权
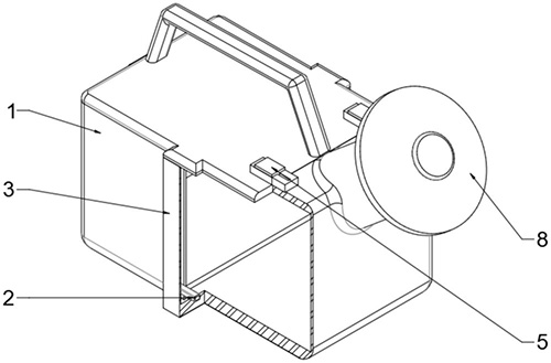
技术功效语段: [0012]其一,壶体内腔用于盛放尿液,因观察槽与壶体内腔相连通,所以观察槽与壶体内腔液面高度一致,因显示浮块就可以漂浮在液体表面,所以显示浮块可以随着液面的升高在观察槽内部向上滑动,通过透明状的观察槽外壁就可以观察到显示浮块在观察槽内的位置,而显示浮块表面的荧光层则是为了使显示浮块更加便于观察,从而使视力较差的老年患者也可以正常的查看便壶中尿液的液面高度。[0013]其二,患者通过壶口将尿液排入壶体内腔中,使用完成后将壶口盖盖上可以避免便壶中的异味散发出来,而壶体两侧观察槽中的显示浮块会随着液面升高而沿着观察槽向上浮起,所以患者可以通过透明状的观察槽并根据对应的刻度线查看显示浮块所在的位置,以便确定便壶内的尿液是否需要倾倒处理,从而更加便于视力较差的老年患者使用,当需要清洗便壶时,可以松开卡扣,将壶体上盖通过铰链打开,以此来对便壶内腔进行更充分的清洗,同时也可以通过连接杆将显示浮块从观察槽中取出,以便对显示浮块进行清洗。
摘要: 本实用新型公开了一种新型便壶,属于医疗辅助技术领域,包括壶体、显示浮块和观察槽,所述壶体左右两侧均对称开设有观察槽,两个所述观察槽均与壶体内腔两侧相连通,两个所述观察槽内部均设置有显示浮块,本实用新型在使用过程中,壶体内腔用于盛放尿液,因观察槽与壶体内腔相连通,所以观察槽与壶体内腔液面高度一致,因显示浮块就可以漂浮在液体表面,所以显示浮块可以随着液面的升高在观察槽内部向上滑动,通过透明状的观察槽外壁就可以观察到显示浮块在观察槽内的位置,而显示浮块表面的荧光层则是为了使显示浮块更加便于观察,从而使视力较差的老年患者也可以正常的查看便壶中尿液的液面高度。

























