授权专利
一种具有固定调节装置的胃管
公开(公告)号: CN221357781U
摘要附图:

标题: 一种具有固定调节装置的胃管
专利类型: 实用新型
申请日: 2023-10-08
公开(公告)日: 2024-07-19
申请号: CN202322678147.3
发明人: 赵鑫
当前申请(专利权)人: 首都医科大学附属北京潞河医院
IPC分类号: A61J15/00
法律状态/事件: 授权
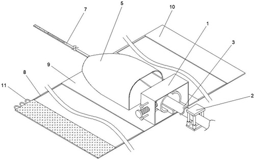
技术功效语段: [0025]1、本实用新型提出的一种具有固定调节装置的胃管,通过设置固定框、鼻罩、绑带、保护片、连接片、弧形带、加固绳、活动夹板、固定夹板和丝杆,把鼻罩放置到患者的鼻梁上方,保护片平铺在鼻梁旁边的患脸部,绑带从患者耳朵上下两侧放到患者头部后侧,把多个连接片相互粘结在一起,加固绳从患者头部上侧放到对应的多个弧形带内进行粘结固定,可以防止保护片移动,从而固定住固定框防止固定框移动,转动丝杆使活动夹板靠近固定夹板,多个限位柱可以防止活动夹板晃动,从而固定住胃管本体,便于胃管本体的固定,防止胃管本体移动,有效防止长时间使用后导致胃管本体脱落。[0026]2、本实用新型提出的一种具有固定调节装置的胃管,通过设置上弧形夹块、下弧形夹块、二号压板、运动柱、张力弹簧、卡槽、卡条、一号压板和限位筒,相互按压二号压板与一号压板使运动柱顺着限位筒向二号压板下侧移动,使运动柱向下移动挤压卡条使张力弹簧收缩,卡槽移动到卡条位置时,张力弹簧的张力会把卡条推到卡槽内部,从而固定住运动柱防止运动柱向上移动,下弧形夹块与上弧形夹块可以紧紧的把胃管本体末端进行夹紧密封,可以有效防止外界的杂质进入到胃管本体内部。
摘要: 本实用新型涉及胃管固定器的技术领域,公开了一种具有固定调节装置的胃管,包括固定框、胃管本体和保护片,所述固定框固定设置于保护片上端面靠前侧位置,所述胃管本体固定设置于固定框内部位置,所述胃管本体上方活动设置有一号压板,所述一号压板下端面四角位置均固定设置有运动柱,多个所述运动柱靠上端位置均贯穿开设有卡槽。本实用新型中,把鼻罩放置到患者的鼻梁上方,绑带从患者耳朵上下两侧放到患者头部后侧,把多个连接片相互粘结在一起,加固绳从患者头部上穿过弧形带进行粘结固定,可以固定住保护片和固定框,转动丝杆使活动夹板与固定夹板相互配合固定住胃管本体,便于胃管本体的固定。

























