授权专利
一步法穿刺组件
公开(公告)号: CN221383707U
摘要附图:

标题: 一步法穿刺组件
专利类型: 实用新型
申请日: 2023-07-24
公开(公告)日: 2024-07-23
申请号: CN202321942105.X
发明人: 邱枫 | 高月
当前申请(专利权)人: 首都医科大学附属北京潞河医院
IPC分类号: A61B17/34
法律状态/事件: 授权
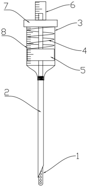
技术功效语段: [0020]1.在本实用新型中,通过穿刺针、鞘管、基座、弹性部和推动部的设置,对腔隙穿刺的过程中,可根据鞘管在基座上的位置判断穿刺组件是否穿刺进入腔隙中,解决了需要人为根据穿刺组件进入腔隙的突破感来判断穿刺组件是否进入腔隙中,避免的人为判断的主观感受,影响穿刺组件是否进行腔隙中,以及有可能因为主观判断错误,出现穿刺组件对穿或者穿刺进入错误间隙的情况,由此影响手术进行等。[0021]2.在本实用新型中,通过弹性部的设置,为穿刺针提供自动推动的作用,增加了穿刺组件的自动功能,同时也可以根据弹簧的压缩和复原判断穿刺针是否进入目标腔隙。因此,本实用新型的结构容易获得,装配简单,具有广泛的应用前景,适合推广应用。
摘要: 本实用新型公开了一步法穿刺组件,属于医学器械领域,包括穿刺针、鞘管、基座、弹性部和推动部,弹性部和推动部沿基座长度的方向依次设置在基座内,弹性部与推动部抵接;穿刺针依次贯穿基座和鞘管,推动部与穿刺针固定连接,鞘管与靠近推动部一端的基座可拆卸连接;穿刺针上设有中空的流道,在靠近穿刺针的穿刺端部设有与流道连通的侧孔;当穿刺针进行穿刺受到阻力时,穿刺针带动推动部相对于基座沿穿刺相反方向运动,推动部挤压弹性部,穿刺针的穿刺端缩进鞘管内;当阻力消失时,弹性部复原,推动部带动穿刺针相对于基座沿穿刺方向运动,穿刺针的穿刺端从鞘管内伸出而外露于鞘管。解决了现有穿刺针是否进入腔隙需要根据有无突破感来判断的问题。

























