授权专利
一种X射线摄影设备质量控制检测滤过板固定装置、
公开(公告)号: CN221450634U
摘要附图:

标题: 一种X射线摄影设备质量控制检测滤过板固定装置
专利类型: 实用新型
申请日: 2023-09-26
公开(公告)日: 2024-08-02
申请号: CN202322606982.6
发明人: 李广民 | 李金国
当前申请(专利权)人: 首都医科大学附属北京潞河医院
IPC分类号: A61B6/00 | A61B6/40 | G01N23/00
法律状态/事件: 授权
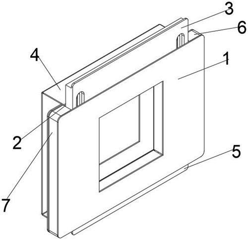
技术功效语段: [0010]该X射线摄影设备质量控制检测滤过板固定装置,通过设置有活动板、固定板与弹簧,根据需要将活动板与固定板对准X射线球管出线口上设置的限位框内侧开设的限位槽中,然后将活动板与固定板分别推入至两个限位槽中,从而对滤过板进行固定,也可以将活动板向移动槽内部推入,然后将本装置放置在两个限位槽之间,将固定板一端插入至一个限位槽内部,通过弹簧推动活动板的一端插入至另一个限位槽内部,从而能够对多种规格大小的滤过板进行固定,相较于现有技术而言,固定较为方便,以及固定较为牢固。
摘要: 本实用新型公开了一种X射线摄影设备质量控制检测滤过板固定装置,涉及医疗设备技术领域,包括前板,所述前板的内侧安装有中板,该X射线摄影设备质量控制检测滤过板固定装置,通过设置有活动板、固定板与弹簧,根据需要将活动板与固定板对准X射线球管出线口上设置的限位框内侧开设的限位槽中,然后将活动板与固定板分别推入至两个限位槽中,从而对滤过板进行固定,也可以将活动板向移动槽内部推入,然后将本装置放置在两个限位槽之间,将固定板一端插入至一个限位槽内部,通过弹簧推动活动板的一端插入至另一个限位槽内部,从而能够对多种规格大小的滤过板进行固定,相较于现有技术而言,固定较为方便,以及固定较为牢固。

























