授权专利
一种血液透析室护理用床边固定装置
公开(公告)号: CN221470525U
摘要附图:

标题: 一种血液透析室护理用床边固定装置
专利类型: 实用新型
申请日: 2023-08-28
公开(公告)日: 2024-08-06
申请号: CN202322319152.5
发明人: 赵朋举
当前申请(专利权)人: 首都医科大学附属北京潞河医院
IPC分类号: A61M1/16 | A61M25/02 | A61G7/05
法律状态/事件: 授权
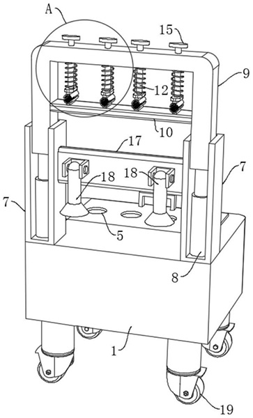
技术功效语段: [0015]与现有技术相比,本实用新型的有益效果是:该一种血液透析室护理用床边固定装置;[0016]1.通过设置固定组件,利用两个吸盘将设备与病床侧边或靠近病床的墙面进行固定,防止使用过程中设备发生偏移,相较于拧动丝杆进行固定,使用更加便捷。[0017]2.通过设置夹持组件,利用弹簧的弹力带动上夹具自动复位并贴紧透析管外壁的顶部,从而便于对不同半径的透析管进行固定,同时由于四组夹具均为单独设置,所以在使用时,多条不同半径的透析管一起使用时,可对多条不同半径的透析管分别夹持固定,从而避免较粗的管路顶起上压板,继而导致较细的管路缺少固定。[0018]3.通过设置缠绕杆,将透析管较为松弛的缠绕在对应的缠绕杆上,从而便于对过长的透析管进行收纳,防止多条透析管在收纳箱过于紊乱。
摘要: 本实用新型属于医疗辅助设备领域,尤其是一种血液透析室护理用床边固定装置,包括收纳箱,收纳箱的顶部开设有矩形缺口,矩形缺口的边缘处转动连接有翻盖,收纳箱上呈等距设有四个第一通口,翻盖上呈等距设有四个第二通口,收纳箱的上方设有U型架,收纳箱顶部靠近边缘处的两角均固定连接有固定框,U型架底部的两端分别与对应的固定框滑动连接。该一种血液透析室护理用床边固定装置,通过设置固定组件,将设备与病床侧边或靠近病床的墙面进行固定,防止使用过程中设备发生偏移,通过设置夹持组件,便于对不同半径的透析管进行固定,并且可对多条不同半径的透析管分别夹持固定,从而避免较粗的管路顶起上压板,继而导致较细的管路缺少固定。

























