授权专利
一种医疗器械收纳装置
公开(公告)号: CN221490210U
摘要附图:

标题: 一种医疗器械收纳装置
专利类型: 实用新型
申请日: 2023-11-08
公开(公告)日: 2024-08-09
申请号: CN202323019658.0
发明人: 刘铭玥 | 胡三保
当前申请(专利权)人: 首都医科大学附属北京潞河医院
IPC分类号: A61B50/31
法律状态/事件: 授权
技术功效语段: [0016]综上所述,本实用新型的技术效果和优点:本实用新型通过在箱体内竖直设置多个与收纳口垂直的挂板,并在箱体内底壁以及内顶壁上均固定设置有滑轨,使挂板滑动在滑轨之间,进一步的,在挂板的两侧侧壁上均设置有用于对医疗器械进行挂置的挂钩,将相应挂板沿着滑轨向着收纳口外侧拉动,便可以对需要使用到的医疗器械进行直接取用,相较于现有技术,对医疗器械的取用更加方便快捷,实用性较高。
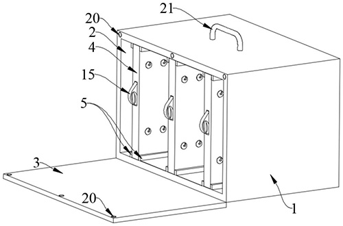
摘要: 本实用新型公开了一种医疗器械收纳装置,属于医疗器械技术领域,包括箱体,箱体一侧开设有收纳口,收纳口底部铰接设置有箱门,箱体内竖直设置有多个挂板,多个挂板之间相互平行,挂板与收纳口垂直设置,箱体内底壁以及内顶壁上均固定设置有滑轨,滑轨设置在挂板底端与顶端的两侧,挂板的两侧侧壁上均设置有用于对医疗器械进行挂置的挂钩。通过在箱体内竖直设置多个与收纳口垂直的挂板,并在箱体内底壁以及内顶壁上均固定设置有滑轨,在挂板的两侧侧壁上均设置有用于对医疗器械进行挂置的挂钩,将相应挂板沿着滑轨向着收纳口外侧拉动,便可以对需要使用到的医疗器械进行直接取用,相较于现有技术,对医疗器械的取用更加方便快捷,实用性较高。

























