授权专利
应用于尿袋的开关组件及尿袋
公开(公告)号: CN221557014U
摘要附图:

标题: 应用于尿袋的开关组件及尿袋
专利类型: 实用新型
申请日: 2023-11-08
公开(公告)日: 2024-08-20
申请号: CN202323008838.9
发明人: 白洋
当前申请(专利权)人: 首都医科大学附属北京潞河医院
IPC分类号: A61M1/00 | A61M39/28
法律状态/事件: 授权
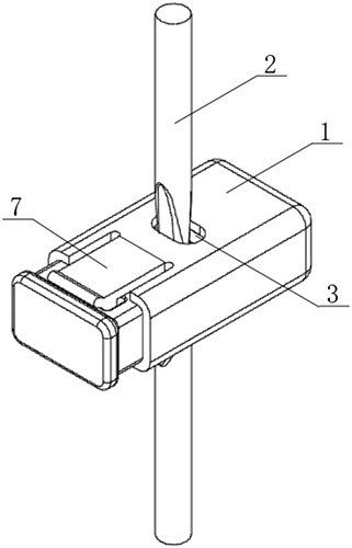
技术功效语段: [0026]1、本实用新型提供的开关组件和尿囊机构,开关组件包括壳体、插板、弹性件和闭锁板,所述壳体上设置有适于尿袋的出液管穿过的第一孔,插板,所述插板上设置有适于尿袋的出液管穿过的第二孔;所述插板滑动安装在壳体中;所述第二孔具有与第一孔相配合捏紧出液管的闭锁位置和与第一孔相重合并放开出液管的打开位置,弹性件,设置在壳体和插板之间,适于推动向离开壳体的方向推动插板,闭锁板,设置在壳体上,适于在插板上的第二孔处于闭锁位置时对插板的位置进行固定;[0027]尿囊,适于盛放尿液,出液管,与尿囊连通,所述出液管上套装有上述所述的应用于尿袋的开关组件;[0028]出液管作为尿液的排出结构时,其贯穿第一孔和第二孔,使得壳体内插板在外力推动下滑动闭合至壳体的内部时,其导致第一孔和第二孔的位置发生错位,以达到对出液管内壁挤压闭合的目的,阻止尿囊的放尿工作,其插板结构在闭合后,可通过闭锁板与插板的连接,对闭合后的插板进行定位,插板的位置固定,使得弹性件失效后,插板的位置仍可通过闭锁板进行定位,继而预防了弹性件失效后,插板位置的调节不当导致的导尿袋在不放尿时的漏洒尿液问题。[0029]2、本实用新型提供的闭锁板连接结构,包括插头、插槽和翘头,闭锁板上设置有插头,插板上设置有适于同插头相配合的插槽,所处插头适于在第二孔处于闭锁位置时插入插槽内对插板的位置进行固定,所述插头上还设置有弧形凸起,所述插槽内设置有适于同弧形凸起相配合的弧形槽,所述闭锁板的端部设置有翘头,插头的下边缘设置有朝向推出插板方向上的斜导面,所述斜导面适于在插头插入插槽的过程当中推动插板向远离壳体的方向移动;[0030]闭锁板在与插板之间进行闭合连接后,使得插头与插槽之间进行插接安装,达到对插板闭合后位置的定位作用,且插头在与插槽之间进行接触时,弧形凸起和弧形槽相配合能够防止插头被失误拔出,提供进一步的安全保证,插头在插入插槽的过程中,斜导面的设置,可施加捏紧出液管的力,保证对出液管的闭锁效果,且闭锁板的抬起可通过翘头结构的设置,增添对闭锁板操作使用的便捷。[0031]3、本实用新型提供的技术方案中,所述弹性件为弹性橡胶,所述第一孔和第二孔为长圆孔,长圆孔的延伸方向垂直于插板的滑动方向;[0032]其弹性件结构采用弹性橡胶材质,具备持久性的回弹性,不易失效,且橡胶材质的制造成本较低。[0033]4、本实用新型提供的技术方案中,所述闭锁板与壳体一起成型;[0034]闭锁板与壳体之间均与插板位置连接关系,二者的连接在插板表面构成一体的套件结构,对闭锁板与壳体结构采用一起成型的方式,可为制作过程中的开模工作增添便利,降低材料和成本的浪费。
摘要: 本实用新型涉及一种开关组件结构具体为一种应用于尿袋的开关组件及尿袋。本实用新型提供的开关组件和尿囊机构,开关组件包括壳体、插板、弹性件和闭锁板,出液管作为尿液的排出结构时,其贯穿第一孔和第二孔,使得壳体内插板在外力推动下滑动闭合至壳体的内部时,其导致第一孔和第二孔的位置发生错位,以达到对出液管内壁挤压闭合的目的,阻止尿囊的放尿工作,其插板结构在闭合后,可通过闭锁板与插板的连接,对闭合后的插板进行定位,插板的位置固定,使得弹性件失效后,插板的位置仍可通过闭锁板进行定位,继而预防了弹性件失效后,插板位置的调节不当导致的导尿袋在不放尿时的漏洒尿液问题。

























