授权专利
一种引流管挤通器
公开(公告)号: CN221600981U
摘要附图:

标题: 一种引流管挤通器
专利类型: 实用新型
申请日: 2023-10-25
公开(公告)日: 2024-08-27
申请号: CN202322864518.7
发明人: 程瑜蓉 | 王静 | 向耀先
当前申请(专利权)人: 首都医科大学附属北京潞河医院
IPC分类号: A61M25/00 | A61M1/00
法律状态/事件: 授权
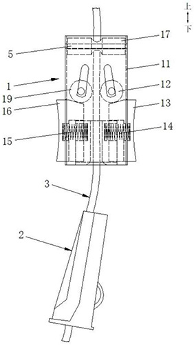
技术功效语段: [0018]1.本实用新型提供的引流管挤通器结构简单、体积小、成本低;[0019]2.本实用新型提供的引流管挤通器可以轻松方便地穿接在现有的引流管本体上,使得现有的引流管备舒通功能;[0020]3.本实用新型的引流管挤通器与引流管本体不连通,疏通过程中不易进入异物,使用卫生安全,并且可以轻松完整地从引流管本体上拉取下来,模块化设计便于回收利用;[0021]4.本实用新型设有的整形滚轮a和整形滚轮b有利于对引流管本体的扁陷部位复圆;[0022]5.本实用新型在再进行疏通操作时,一只手固定住引流管本体,另一只手按压推轮按钮a及推轮按钮b并向相远离固定引流管本体的手的方向拉动,会轻松将挤压滚轮a及挤压滚轮b移入长孔内远离中孔导块的一端,从而挤压滚轮a及挤压滚轮b会以恒定适宜的压力在引流管本体上滚动并挤压引流管本体,使得不同的操作人员都可以安全轻松有效标准地进行疏通操作。
摘要: 本实用新型涉及医疗器械技术领域,具体涉及一种引流管挤通器,包括管状架体、挤压滚轮a、推轮按钮a、弹簧a、弹簧b、推轮按钮b和挤压滚轮b,所述挤压滚轮a、推轮按钮a、推轮按钮b、挤压滚轮b、弹簧a及弹簧b都连接在所述管状架体上。本实用新型包含的引流管挤通器结构简单、成本低,可直接穿接于现有的引流管上,使得现有的引流管具备疏通功能。

























