授权专利
活检标本收集瓶
公开(公告)号: CN221617080U
摘要附图:

标题: 活检标本收集瓶
专利类型: 实用新型
申请日: 2023-12-12
公开(公告)日: 2024-08-30
申请号: CN202323385852.0
发明人: 许文静 | 李亚强 | 孙巍
当前申请(专利权)人: 首都医科大学附属北京潞河医院
IPC分类号: A61B10/00
法律状态/事件: 授权
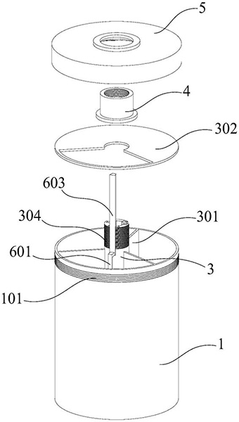
技术功效语段: [0015]1、本申请的活检标本收集瓶通过使用驱动件驱动螺杆带动滑条,滑条可在滑槽里滑动,滑条顶部的磁铁吸住上连接杆并固定,滑条上升,使得标本上升,便于观察标本状况,且取出的过程更加容易,使用范围更广。[0016]2、本申请的活检标本收集瓶在瓶口表面设有转盘,且转盘的扇形缺口略小于单独扇形瓶口的尺寸,提起上连接杆时,残留在标本的组织液发生滴落也不会滴到其他标本的组织液中,会滴到转盘上,防止出现相互影响的情况。
摘要: 本申请公开了一种活检标本收集瓶,包括收集瓶主体,所述收集瓶主体的内部中心固定连接有圆形管,所述收集瓶主体的内壁固定连接有隔板,所述圆形管的外壁中部套接有转盘,所述圆形管的顶部开设有定位槽,所述圆形管的内部开设有滑槽,所述滑槽的内壁底部设有驱动件,所述圆形管的内部设有滑条,所述滑条的顶部固定连接有磁铁。本申请使用驱动件驱动螺杆带动滑条,滑条顶部的磁铁吸住上连接杆并固定,滑条上升,使得标本上升,便于观察标本状况,瓶口表面设有转盘,提起上连接杆时,残留在标本的组织液发生滴落也不会滴到其他标本的组织液中,防止相互影响。

























