授权专利
一种支架
公开(公告)号: CN221636484U
摘要附图:

标题: 一种支架
专利类型: 实用新型
申请日: 2023-09-20
公开(公告)日: 2024-09-03
申请号: CN202322564411.0
发明人: 刘亚民
当前申请(专利权)人: 首都医科大学附属北京潞河医院
IPC分类号: A61G12/00
法律状态/事件: 授权
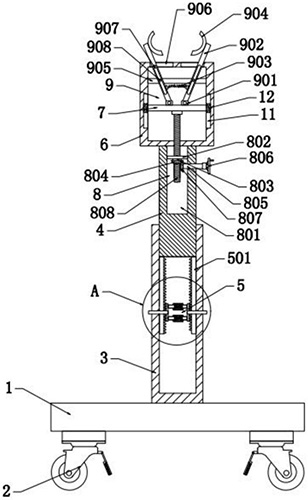
技术功效语段: [0012]本实用新型的一种支架,根据使用需求,按压调节杆,调节伸缩杆在固定杆内部位移,从而调节支架的整体长度,医护人员可以对患者腿部调整到舒适的姿势进行支撑,转动把手,带动转轴上的锥齿轮二转动,进而使螺纹杆转动带动调节板上下位移,进而带动活动杆在金属块上滑动,进而活动杆上的夹持座患者腿部进行夹持,省力方便。
摘要: 本实用新型公开了一种支架,包括底座,所述底座顶部设有固定座,所述固定座上安装有伸缩杆,所述固定座与伸缩杆之间安装有调节机构,所述伸缩杆的顶端固定连接有夹持箱,所述夹持箱的内部安装有调节板,所述调节板的下表面安装有驱动机构,所述调节板的上表面安装有夹持机构。本实用新型的本实用新型的一种支架,根据使用需求,按压调节杆,调节伸缩杆在固定杆内部位移,从而调节支架的整体长度,医护人员可以对患者腿部调整到舒适的姿势进行支撑,转动把手,带动转轴上的锥齿轮二转动,进而使螺纹杆转动带动调节板上下位移,进而带动活动杆在金属块上滑动,进而活动杆上的夹持座患者腿部进行夹持,省力方便。

























