授权专利
一次性吸痰管
公开(公告)号: CN221636841U
摘要附图:

标题: 一次性吸痰管
专利类型: 实用新型
申请日: 2023-10-25
公开(公告)日: 2024-09-03
申请号: CN202322874077.9
发明人: 李晶晶 | 李晶 | 黄敬轩
当前申请(专利权)人: 首都医科大学附属北京潞河医院
IPC分类号: A61M1/00 | B08B9/032
法律状态/事件: 授权
技术功效语段: [0015]本申请提供的技术方案可以包括以下有益效果:通过利用清洗罐旋接于液嘴,并使刺针朝向液嘴上的封膜,当需要往输液腔注入碳酸氢钠溶液时,只需旋转清洗罐即可使刺针刺破封膜,将碳酸氢钠溶液倒入输液腔,操作方便快捷,提高医护人员的工作效率,且可以避免碳酸氢钠在注入管体内时往外洒,提高了安全性。[0016]应当理解的是,以上的一般描述和后文的细节描述仅是示例性和解释性的,并不能限制本申请。
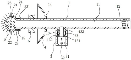
摘要: 本申请涉及一种一次性吸痰管。该一次性吸痰管包括:管体、吸头及清洗罐;管体内设有输液腔,管体的一端设有出液孔,出液孔与输液腔相连通,管体的侧面设有液嘴,液嘴的一端设有开口,开口与所述输液腔相连通,液嘴设有封膜,封膜遮盖所述开口;吸头开设有多个进液孔,所述吸头内设有内腔,所述吸头与所述管体的一端相连,所述内腔分别与所述输液腔和所述进液孔相连通;所述清洗罐内设有容腔和刺针,所述容腔用于收容碳酸氢钠溶液,所述清洗罐与所述液嘴旋接,所述刺针位于所述容腔内,且所述刺针的针头朝向所述封膜,所述清洗罐通过相对所述液嘴旋转,以使所述刺针朝所述封膜移动。本申请提供的方案,能够便捷地将碳酸氢钠溶液注入管体内。

























