授权专利
ICU重症医学科的临床用引流装置
公开(公告)号: CN221655288U
摘要附图:

标题: ICU重症医学科的临床用引流装置
专利类型: 实用新型
申请日: 2023-09-16
公开(公告)日: 2024-09-06
申请号: CN202322516560.X
发明人: 姜健
当前申请(专利权)人: 首都医科大学附属北京潞河医院
IPC分类号: A61M1/00
法律状态/事件: 授权
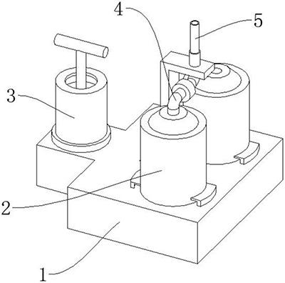
技术功效语段: [0016]将引流瓶插入底座内旋转,使引流瓶上卡块卡入卡框内,顶块将移动板顶起,密封圈随移动板移动,使密封圈将引流瓶内通槽打开,通过底座内通槽的连接使负压机构将引流瓶内部形成负压,将引流管插入连接管内,连接管与引流瓶连接进行引流抽吸,在需要进行切换引流瓶时,通过连接管插入新的引流瓶,将引流瓶插入底座上转动,推动封闭板完成快速切换引流瓶,减少引流瓶更换时间防止影响医疗进程。
摘要: 本实用新型涉及医疗器械技术领域,特别是涉及ICU重症医学科的临床用引流装置,包括引流瓶,还包括用于快速将瓶体进行切换防止因较长更换时间耽误医疗过程的切换机构。有益效果:将引流瓶插入底座内旋转,使引流瓶上卡块卡入卡框内,顶块将移动板顶起,密封圈随移动板移动,使密封圈将引流瓶内通槽打开,通过底座内通槽的连接使负压机构将引流瓶内部形成负压,将引流管插入连接管内,连接管与引流瓶连接进行引流抽吸,在需要进行切换引流瓶时,通过连接管插入新的引流瓶,将引流瓶插入底座上转动,推动封闭板完成快速切换引流瓶,减小引流瓶更换时间防止影响医疗进程。

























