授权专利
一种医用控温马甲
公开(公告)号: CN221690169U
摘要附图:

标题: 一种医用控温马甲
专利类型: 实用新型
申请日: 2023-12-27
公开(公告)日: 2024-09-13
申请号: CN202323596283.4
发明人: 耿晓坤 | 丁玉川 | 程哲 | 李凤武 | 白尚颖 | 童燕娜 | 段洪连 | 郭思超 | 江倩 | 程牧源
当前申请(专利权)人: 首都医科大学附属北京潞河医院
IPC分类号: A41D13/12 | A41D13/005 | A41D1/04 | A61F7/12
法律状态/事件: 授权
技术功效语段: [0023]综上所述,使用本申请实施例提供的医用控温马甲,能够达到靶向亚低温治疗的目的;其可以根据治疗需要为患者提供特定部位的局部降温作用,以及局部升温以达到局部保温的作用,防止在不需要降温的部位产生低温效果而导致机体衰竭,从而为患者提供更好的体温调节作用。需要注意的是,本申请实施例提供的医用控温马甲进行局部升温的目的不是为了加热治疗,而是保持非治疗区域不会降温,以维持原有体温。
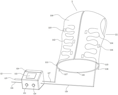
摘要: 本申请公开了一种医用控温马甲。该医用控温马甲包括穿戴件和气体调温器,所述穿戴件包括主体部、第一进气口、第一输送管、第二进气口及第二输送管;所述主体部分区域设置有升温区和降温区;所述第一进气口和所述第一输送管相互连通,且所述第一进气口和所述第一输送管设置于所述升温区;所述第二进气口和所述第二输送管相互连通,且所述第二进气口和所述第二输送管设置于所述降温区;所述气体调温器包括涡流管,所述涡流管具有进气端、热气出气端及冷气出气端;所述进气端被配置为用于外接压缩气源;所述热气出气端与所述第一进气口连通,所述冷气出气端与所述第二进气口连通。

























