授权专利
一种改良的安全动脉穿刺针
公开(公告)号: CN221045018U
摘要附图:

标题: 一种改良的安全动脉穿刺针
专利类型: 实用新型
申请日: 2023-07-26
公开(公告)日: 2024-05-31
发明人: 郭小雨
当前申请(专利权)人: 首都医科大学附属北京潞河医院
IPC分类号: A61B17/34
法律状态/事件: 授权
技术功效语段: [0015]本实用新型通过对按压头按压,穿刺针体延伸,再次按压,可以弹出,穿刺针体可以收回,可以弹出重复使用。既保证安全,又方便使用,节省耗材,同时能够防止针头误触,防止出现感染。[0016]本实用新型的附加方面和优点将在下面的描述中部分给出,部分将从下面的描述中变得明显,或通过本实用新型的实践了解到。
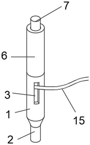
摘要: 本实用新型公开了一种改良的安全动脉穿刺针,包括第一筒体和第二筒体,所述第一筒体的内部插接有穿刺针体,所述穿刺针体的顶端连接有连接杆,所述连接杆的外部套设有弹簧,所述连接杆的中部固定连接有输液管,所述第一筒体的一侧开设有开口,且输液管贯穿开口;所述第二筒体的内部顶端固定连接有固定槽筒,所述固定槽筒的内壁固定连接有若干支撑滑杆,所述支撑滑杆的内侧滑动配合有导向杆,所述导向杆的外侧固定连接有若干滑块,且滑块和支撑滑杆之间滑动配合。通过上述结构,通过对按压头按压,穿刺针体延伸,再次按压,可以弹出,穿刺针体可以收回,可以弹出重复使用。既保证安全,又方便使用,节省耗材,同时能够防止针头误触。

























