授权专利
一种胃镜辅助吸引管
公开(公告)号: CN220938014U
摘要附图:

标题: 一种胃镜辅助吸引管
专利类型: 实用新型
申请日: 2023-07-24
公开(公告)日: 2024-05-14
发明人: 牛旭 | 郝少龙 | 韩威
当前申请(专利权)人: 首都医科大学附属北京潞河医院
IPC分类号: A61B1/273 | A61M25/00 | A61B1/012
法律状态/事件: 授权
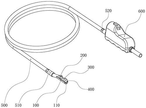
技术功效语段: [0020]根据本实用新型的方案,胃镜辅助吸引管包括引流管、第一卡套、第二卡套和透明帽。第一卡套和第二卡套依次沿引流管的轴线方向设置在引流管的外周壁上。第二卡套靠近引流管的端部,且第一卡套和第二卡套同轴心设置;第二卡套上固定设置有透明帽,电子胃镜的一端能够穿过第一卡套和透明帽可拆卸连接,通过本结构的设计,能够通过第二卡套将透明帽固定在引流管上,同时实现透明帽和电子胃镜的可拆卸连接,降低了透明帽脱落的风险。在使用时,通过在电子胃镜的外周壁上外接引流管,能够提供额外的抽吸通道,在患者体腔内存在大颗粒的食物残渣或血块时,引流管能够作为主要的抽吸机构清理电子胃镜周围的食物残渣或血块,避免大颗粒的食物残渣或血块导致遮挡电子胃镜的镜头。[0021]根据本实用新型的方案,引流管的截面为半月型,采用半月型的设置,引流管的弧形面能够紧密贴合电子胃镜,尽可能缩小胃镜辅助吸引管和电子胃镜连接在一起的总体尺寸,避免因尺寸过大导致的医疗隐患。[0022]根据本实用新型的方案,引流管内设置有抽吸孔,抽吸孔的有效抽吸半径尺寸为D,其中,4mm≤D≤9mm,抽吸孔的有效抽吸半径尺寸为引流管内最小截面处的最大内切圆半径,通过控制抽吸孔的有效抽吸半径尺寸能够提高引流管抽吸大颗粒的食物残渣或血块的能力。[0023]根据本实用新型的方案,引流管的截面还可以设置为圆形,采用圆筒型设置的引流管制造简单,方便实用。引流管的输入端设置有球形凸起,能够避免本装置在工作时,引流管的端部接触人体体腔内壁时可能会出现的划伤隐患。[0024]根据本实用新型的方案,第一卡套和第二卡套设置成8字型的结构,第一卡套通过第一卡环套设在引流管的第一凹槽中,第二卡套通过第二卡环套设在引流管的第二凹槽中,通过本结构的设计,能够稳定地固定住第一卡套和第二卡套。
摘要: 本实用新型涉胃镜检查设备技术领域,具体提供一种胃镜辅助吸引管,包括引流管、第一卡套、第二卡套和透明帽。第一卡套和第二卡套依次沿引流管的轴线方向设置在引流管的外周壁上。第二卡套靠近引流管的端部,且第一卡套和第二卡套同轴心设置;第二卡套上固定设置有透明帽,电子胃镜的一端能够穿过第一卡套和透明帽可拆卸连接,通过本结构的设计,能够通过第二卡套将透明帽固定在引流管上,同时实现透明帽和电子胃镜的可拆卸连接,降低了透明帽脱落的风险。

























