授权专利
一种肛肠科专用的病员裤
公开(公告)号: CN220876013U
摘要附图:

标题: 一种肛肠科专用的病员裤
专利类型: 实用新型
申请日: 2023-07-31
公开(公告)日: 2024-05-03
发明人: 程瑶
当前申请(专利权)人: 首都医科大学附属北京潞河医院
IPC分类号: A41D13/12 | A41D1/04 | A41D13/015 | A41D27/00 | A41D27/12 | A41D31/04
法律状态/事件: 授权
技术功效语段: [0011]1.本实用新型通过设有软性气垫和弹性气囊的配合,将病员裤的后裆处与患者的臀部隔开,并通过软性气垫和弹性气囊的软弹性,增加软性气垫与患者臀部接触时的舒适性,避免患者在行走时病员裤拉动患者臀部的肌肉,使得有利于患者创口的愈合。[0012]2.本实用新型通过设有检查口、遮挡布、透明PVC布料、一号子魔术贴和一号母魔术贴的配合,便于将遮挡布从检查口处取下,方便医护人员进行诊断治疗,通过遮挡帘、二号子魔术贴和二号母魔术贴的配合,便于将遮挡帘从遮挡布上揭开,使得医护人员可以隔着透明PVC布料进行观察患者治疗情况,避免将患者的治疗处暴露在外界。
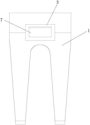
摘要: 本实用新型涉及病员裤技术领域,且公开了一种肛肠科专用的病员裤,包括病员裤本体,所述病员裤本体的后裆处开设有检查口,所述病员裤本体的后裆处设有遮挡布,所述遮挡布位于检查口处,所述遮挡布的中部开设有通口,所述遮挡布中部的通口处缝有透明PVC布料,所述遮挡布的正面设有遮挡帘,所述遮挡帘位于透明PVC布料的正面,所述遮挡帘的顶部缝在遮挡布正面的上方。本实用新型通过设有软性气垫和弹性气囊的配合,将病员裤的后裆处与患者的臀部隔开,并通过软性气垫和弹性气囊的软弹性,增加软性气垫与患者臀部接触时的舒适性,避免患者在行走时病员裤拉动患者臀部的肌肉,使得有利于患者创口的愈合。

























