授权专利
一种心内科患者锻炼设备
公开(公告)号: CN220833563U
摘要附图:

标题: 一种心内科患者锻炼设备
专利类型: 实用新型
申请日: 2023-06-16
公开(公告)日: 2024-04-26
发明人: 杨婧
当前申请(专利权)人: 首都医科大学附属北京潞河医院
IPC分类号: A61H7/00 | A63B23/04 | A61H9/00
法律状态/事件: 授权
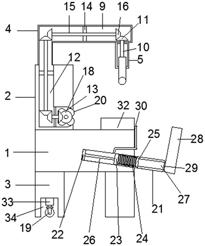
技术功效语段: [0016]本实用新型提供了一种心内科患者锻炼设备,具备以下有益效果:[0017](1)、本实用新型通过设置锻炼盒、第一转杆、第一锥形齿轮、摇手、第一L形凹槽、第二转杆、第二锥形齿轮、第二L形凹槽、圆槽、圆环A、第三转杆、第三锥形齿轮、第四转杆、第四锥形齿轮、弧形按摩块,使用者转动两个摇手,两个摇手带动第一转杆和第一锥形齿轮转动,第一锥形齿轮带动第二锥形齿轮和第二转杆转动,第二锥形齿轮带动最上方第三锥形齿轮和最上方第三转杆沿第一L形凹槽转动,最上方第三锥形齿轮带动中部第三锥形齿轮和中部第三转杆沿第二L形凹槽转动,中部第三锥形齿轮带动最下方第三锥形齿轮和最下方第三转杆转动,最下方第三锥形齿轮带动第四锥形齿轮、第四转杆和多个按摩块沿圆槽转动,通过转动的多个弧形按摩块来按摩使用者的腰部。[0018](2)、本实用新型通过设置直管、活塞、圆环B、弹簧、固定块、拉杆、推杆、踏板、限位环、软管、气囊组、束缚带,使用者用带有魔术贴的束缚带把气囊组绑在小腿上,用脚蹬踏板,踏板带动推杆和固定块拉动弹簧同时带动拉杆拉动活塞,活塞带动气体通过软管进入气囊组内,使用者收回脚,弹簧收缩带动固定块、推杆和踏板运动,固定块推动拉杆和活塞运动,气囊组内的气体通过软管回流,通过气囊组的胀缩来按摩使用者的小腿。
摘要: 本实用新型公开了一种心内科患者锻炼设备,具体涉及医疗设备技术领域,包括椅座,所述椅座的顶部固定有椅背,所述椅座的底部固定有四个椅腿,所述椅背的顶部固定有L形直杆,使用者转动两个摇手,两个摇手带动第一转杆和第一锥形齿轮转动,第一锥形齿轮带动第二锥形齿轮和第二转杆转动,第二锥形齿轮带动最上方第三锥形齿轮和最上方第三转杆沿第一L形凹槽转动,最上方第三锥形齿轮带动中部第三锥形齿轮和中部第三转杆沿第二L形凹槽转动,中部第三锥形齿轮带动最下方第三锥形齿轮和最下方第三转杆转动,最下方第三锥形齿轮带动第四锥形齿轮、第四转杆和多个按摩块沿圆槽转动,通过转动的多个弧形按摩块来按摩使用者的腰部。

























