授权专利
一种臂托
公开(公告)号: CN220757414U
摘要附图:

标题: 一种臂托
专利类型: 实用新型
申请日: 2023-07-21
公开(公告)日: 2024-04-12
发明人: 索红娜
当前申请(专利权)人: 首都医科大学附属北京潞河医院
IPC分类号: A61B6/04
法律状态/事件: 授权
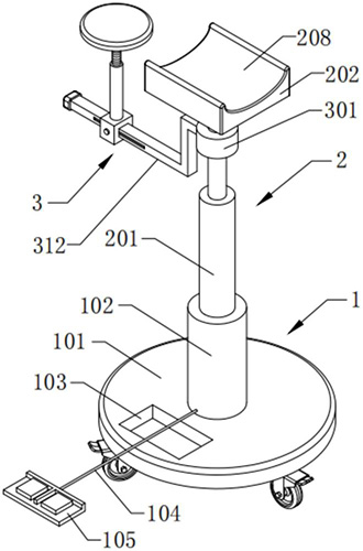
技术功效语段: [0021]本实用新型提供的臂托,设置的升降式手臂支撑组件主要由电动推杆、U形配装座、配装块、螺栓以及手臂托架组成,设置的肘部支撑组件主要由固定套、折弯支撑杆、滑套、立筒、螺纹杆以及圆形肘托板组成,利用电动推杆调节手臂托架的高度,使得调节手臂托架高度的操作比较方便,可以通过转动螺纹杆调节圆形肘托板的高度,在圆形肘托板与调节手臂托架的高度差改变时,可以通过U形配装座、配装块以及螺栓相互配合调节手臂托架的倾斜角度,使得手臂托架可以始终贴合患者的手臂,从而提高手臂托架对手臂的支撑效果,同时可以利用电动推杆同时调节手臂托架以及圆形肘托板的高度,使得该臂托可以适用于不同身高的患者,此外,在调节圆形肘托板与调节手臂托架之间的距离时,无需蹲下操作,站立姿势即可滑动滑套调节圆形肘托板与调节手臂托架之间的距离,从而给医护人员带来操作便利。
摘要: 本实用新型提供了一种臂托,包括:底部移动组件、升降式手臂支撑组件和肘部支撑组件,底部移动组件包括底座、支撑座以及至少三个自锁式万向轮;升降式手臂支撑组件包括电动推杆、U形配装座以及手臂托架;肘部支撑组件包括固定套、折弯支撑杆、滑套、立筒、螺纹杆以及圆形肘托板。本实用新型提供的臂托,可以通过U形配装座、配装块以及螺栓相互配合调节手臂托架的倾斜角度,使得手臂托架可以始终贴合患者的手臂,从而提高手臂托架对手臂的支撑效果,在调节圆形肘托板与调节手臂托架之间的距离时,无需蹲下操作,站立姿势即可滑动滑套调节圆形肘托板与调节手臂托架之间的距离,从而给医护人员带来操作便利。

























