授权专利
一种残疾患者上下床辅助工具
公开(公告)号: CN220735674U
摘要附图:

标题: 一种残疾患者上下床辅助工具
专利类型: 实用新型
申请日: 2023-08-14
公开(公告)日: 2024-04-09
发明人: 王平
当前申请(专利权)人: 首都医科大学附属北京潞河医院
IPC分类号: A61G7/053 | A61G7/10
法律状态/事件: 授权
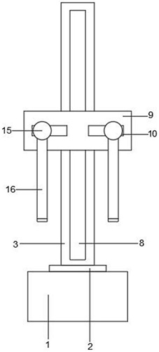
技术功效语段: [0011]1、该残疾患者上下床辅助工具,通过双轴电机、丝杆和滑块配合,可以根据患者体型调节两个腋托的间距,继而在使用时可以适用于不同体型的患者,通过伸缩杆驱动腋托移动至患者两侧腋下,随后通过腋托将患者架住即可通过第一电机驱动齿轮转动,通过齿轮与齿条啮合继而驱使齿条上升即可将患者架高到与床相同高度,最后通过第二电机驱动转座转动即可使患者转动到床上,省时省力,并且使用方便快捷。[0012]2、该残疾患者上下床辅助工具,通过升降槽、液压杆和滚轮配合,可以便于装置移动,方便快捷。
摘要: 本实用新型公开了一种残疾患者上下床辅助工具,涉及残疾患者辅助工具技术领域,包括配重底座,所述配重底座的顶部转动安装有转座,所述配重底座的内部设置有第二电机,所述第二电机的输出端与转座固定连接,所述转座的顶部固定安装有升降柱,本实用新型的有益效果为:通过双轴电机、丝杆和滑块配合,可以根据患者体型调节两个腋托的间距,继而在使用时可以适用于不同体型的患者,通过伸缩杆驱动腋托移动至患者两侧腋下,随后通过腋托将患者架住即可通过第一电机驱动齿轮转动,通过齿轮与齿条啮合继而驱使齿条上升即可将患者架高到与床相同高度,最后通过第二电机驱动转座转动即可使患者转动到床上,省时省力,并且使用方便快捷。

























