授权专利
一种废液收集装置
公开(公告)号: CN220641186U
摘要附图:

标题: 一种废液收集装置
专利类型: 实用新型
申请日: 2023-07-12
公开(公告)日: 2024-03-22
发明人: 董娜 | 刘君 | 高宇鑫 | 张蕊
当前申请(专利权)人: 首都医科大学附属北京潞河医院
IPC分类号: B65F1/14 | B65F7/00
法律状态/事件: 授权
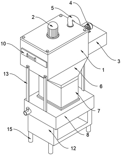
技术功效语段: [0016]该废液收集装置,通过水泵将水箱内部的消毒液输入到输液管内部,通过输液管喷洒到过滤箱内部,对废物消毒处理,然后通过挤压件挤压废物,将水分挤出,同时减小废物的体积,处理时,通过电机带动第一锥形齿轮转动,第一锥形齿轮带动外侧的两个第二锥形齿轮转动,两个第二锥形齿轮的外侧均设置有螺杆,两个螺杆的螺纹方向相反,螺杆带动两个压板相向移动,对废物挤压,挤出废物中的水分,解决了现有的装置中不具有对废物挤压和消毒处理的机构,固体废弃物中会含有大量的废水,不仅影响后续对固体废物的处理,而且容易滋生细菌的问题。
摘要: 本实用新型提供一种废液收集装置,该废液收集装置,包括过滤箱,所述过滤箱的内部设置有挤压件,所述过滤箱的外侧固定连接有水箱,所述水箱的顶部固定连接有水泵,所述水泵的出水端连通有输液管,所述过滤箱的底部连通有锥形斗,所述锥形斗的底部连通有排液箱,所述挤压件包括电机、第一锥形齿轮、第二锥形齿轮、螺杆和压板。本实用新型提供的废液收集装置解决了现有的装置中不具有对废物挤压和消毒处理的机构,固体废弃物中会含有大量的废水,不仅影响后续对固体废物的处理,而且容易滋生细菌的问题。

























