授权专利
一种可固定调节的手术头架
公开(公告)号: CN220608628U
摘要附图:

标题: 一种可固定调节的手术头架
专利类型: 实用新型
申请日: 2023-07-27
公开(公告)日: 2024-03-19
发明人: 郭小雨
当前申请(专利权)人: 首都医科大学附属北京潞河医院
IPC分类号: A61G13/12 | A61G13/10
法律状态/事件: 授权
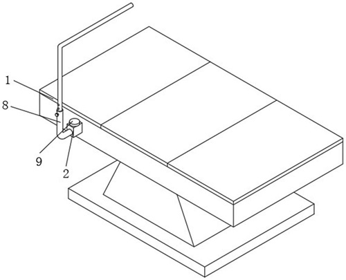
技术功效语段: [0013]1、该一种可固定调节的手术头架,通过设置固定块、第一固定螺栓,拧松第一固定螺栓,即可将手术头架本体进行旋转,在使用时,可旋转至手术床上方,在不使用时,可旋转至手术床下方进行放置,无需反复安装拆卸。[0014]2、该一种可固定调节的手术头架,通过设置旋转柱、调节柱、第二固定螺栓、螺纹孔,使得手术头架本体具有可调节性,可根据需要调节高度。[0015]3、该一种可固定调节的手术头架,通过设置卡接块、卡接槽、插接槽、弹簧、固定凸块,方便将固定块进行安装拆卸。[0016]本实用新型的附加方面和优点将在下面的描述中部分给出,部分将从下面的描述中变得明显,或通过本实用新型的实践了解到。
摘要: 本实用新型公开了一种可固定调节的手术头架,包括手术床、固定块,所述手术床的一侧开设有插接槽,所述插接槽的内壁对称设置有弹簧,所述弹簧的一侧固定连接有固定凸块,所述固定块的一侧固定连接有卡接块,所述卡接块的两侧均开设有卡接槽,所述卡接块的内部卡接有手术头架本体,所述手术头架本体包括旋转柱,所述旋转柱的内部套设有调节柱,所述旋转柱的一侧螺纹连接有第二固定螺栓,所述调节柱的一侧开设有若干个螺纹孔,所述固定块的上端螺纹连接有第一固定螺栓。通过设置固定块、第一固定螺栓,拧松第一固定螺栓,即可将手术头架本体进行旋转,在使用时,可旋转至手术床上方,在不使用时,可旋转至手术床下方进行放置,无需反复安装拆卸。

























