授权专利
一种输血用可加热加压装置
公开(公告)号: CN220588698U
摘要附图:

标题: 一种输血用可加热加压装置
专利类型: 实用新型
申请日: 2023-04-03
公开(公告)日: 2024-03-15
发明人: 朱霖
当前申请(专利权)人: 首都医科大学附属北京潞河医院
IPC分类号: A61M5/44 | A61M5/142
法律状态/事件: 授权
技术功效语段: [0011]本实用新型设有加热长管用于加热输液管中的血液制品或药液,可以边加热边输液,也可以做到加热均匀,加热长管内部设有保温层,可以避免在加热后的由于室内温度较低使输液管内的血液制品或药液温度下降。
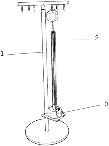
摘要: 本实用新型涉及医疗辅助用具领域,具体地说,涉及一种输血用可加热加压装置,包括输液架、加热长管、装置盒、放置板和固定环,所述加热长管包括加热层、水管层和保温海绵层,所述加热层设置在最外层,所述水管层设置在中间一层,所述水管层内部设有水管层内腔,所述水管层上方设有水管层盖,加热长管最内层为保温海绵层,所述加热长管设在所述装置盒上,所述装置盒放置在所述放置板上,所述放置板通过所述固定环固定在输液架上;本实用新型设有加热长管用于加热输液管中的血液制品或药液,可以边加热边输液,也可以做到加热均匀,加热长管内部设有保温层,可以避免在加热后的由于室内温度较低使输液管内的血液制品或药液温度下降。

























