授权专利
一种儿科用头部固定设备
公开(公告)号: CN220546388U
摘要附图:

标题: 一种儿科用头部固定设备
专利类型: 实用新型
申请日: 2023-07-19
公开(公告)日: 2024-03-01
发明人: 李雪琴
当前申请(专利权)人: 首都医科大学附属北京潞河医院
IPC分类号: A61G13/00 | A61G13/10 | A61G13/12 | A61B90/14
法律状态/事件: 授权
技术功效语段: [0013]1.本实用新型通过设有滑块可将支撑杆和连接槽之间连接,同时通过第一连接块和第一定位槽可加将支撑杆在连接槽的底端进行水平存放,通过固定轴可带动连接槽在检查床的一侧翻转,将检查床和连接槽呈直角,通过第二连接块和第二定位槽可将支撑杆进行垂直定位,通过紧固件可将支撑杆和连接槽进行固定,起到了方便儿童坐在检查床顶端的作用。[0014]2.本实用新型通过设有定位滑轨和滑动槽可将调节块在定位滑轨的顶端定位,通过受力弹簧的伸缩可带动调节块和头部定位板在定位滑轨的顶端移动,起到了方便根据儿童的头围对头部定位板位置进行调节的作用。
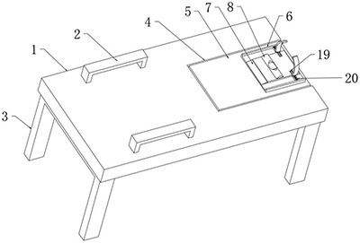
摘要: 本实用新型涉及儿科技术领域,且公开了一种儿科用头部固定设备,包括检查床,所述检查床顶端的一侧固定连接有辅助把手,所述检查床底端的一侧固定连接有支撑底架,所述检查床顶端的另一侧开设有连接槽,所述连接槽的内表面活动连接有支撑板,所述支撑板顶端的一侧固定连接有放置板,本实用新型通过设有滑块可将支撑杆和连接槽之间连接,同时通过第一连接块和第一定位槽可加将支撑杆在连接槽的底端进行水平存放,通过固定轴可带动连接槽在检查床的一侧翻转,将检查床和连接槽呈直角,通过第二连接块和第二定位槽可将支撑杆进行垂直定位,通过紧固件可将支撑杆和连接槽进行固定,起到了方便儿童坐在检查床顶端的作用。

























