授权专利
一种医院供应室用侧开型污物转运箱
公开(公告)号: CN219822503U
摘要附图:

标题: 一种医院供应室用侧开型污物转运箱
专利类型: 实用新型
申请日: 2023-05-24
公开(公告)日: 2023-10-13
发明人: 梁杰 | 王河心 | 张熙
当前申请(专利权)人: 首都医科大学附属北京潞河医院
IPC分类号: B65F1/16 | B65F1/08 | B65F1/14 | A61B50/36 | A61M5/32
法律状态/事件: 授权
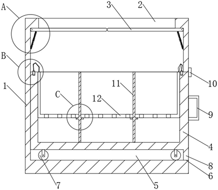
技术功效语段: [0025]1.一种医院供应室用侧开型污物转运箱,包括;转运箱,所述转运箱呈矩形箱体结构,转运箱的内部设置有内部槽体,转运箱的上方设置有连通于内部槽体上方的投掷口,所述投掷口中设置有单向密封组件,所述转运箱的一侧设置有连通内部槽体内部的滑槽,转运箱用于收集污物时,污物直接丢弃在投掷口中,污物会压合活动封板以铰接杆为轴向下转动,从而将污物收集在抽屉式箱体中,而活动封板上端由于侧边槽上方内壁抵触,活动封板只可向下单向打开,避免了污物从转运箱上方掉落的现象。 [0026]2.一种医院供应室用侧开型污物转运箱,污物收集在滤网的表面,滤网可用于固液分离,或者清洗时,液体的排出,便于污物的晾晒或清洗,达到回收再造利用的目的; [0027]3.抽屉式箱体通过锁扣锁紧,固定方便,抽屉式箱体不会从滑槽中滑出造成伤人或者出现污染排放的现象; [0028]4.抽屉式箱体底部的移动轮便于抽屉式箱体滑动,而阻挡框起到了将污物收集在滤网表面的作用,在将滤网取出时,可使得污物不会留在抽屉式箱体中; [0029]5.引导组件可供滤网垂直升降,便于污物顺利取出而不会因滤网倾斜出现掉落的现象,具体的导向杆在导向孔中滑动,供滤网垂直升降。
摘要: 本实用新型公开了一种医院供应室用侧开型污物转运箱,包括;转运箱,所述转运箱呈矩形箱体结构,转运箱的内部设置有内部槽体,转运箱的上方设置有连通于内部槽体上方的投掷口,所述投掷口中设置有单向密封组件,所述转运箱的一侧设置有连通内部槽体内部的滑槽,转运箱用于收集污物时,污物直接丢弃在投掷口中,污物会压合活动封板以铰接杆为轴向下转动,从而将污物收集在抽屉式箱体中,而活动封板上端由于侧边槽上方内壁抵触,活动封板只可向下单向打开,避免了污物从转运箱上方掉落的现象。

























