授权专利
一种口外光固化灯遮光板
公开(公告)号: CN219940861U
摘要附图:

标题: 一种口外光固化灯遮光板
专利类型: 实用新型
申请日: 2023-06-27
公开(公告)日: 2023-11-03
发明人: 王菲
当前申请(专利权)人: 首都医科大学附属北京潞河医院
IPC分类号: A61C19/00
法律状态/事件: 授权
技术功效语段: -
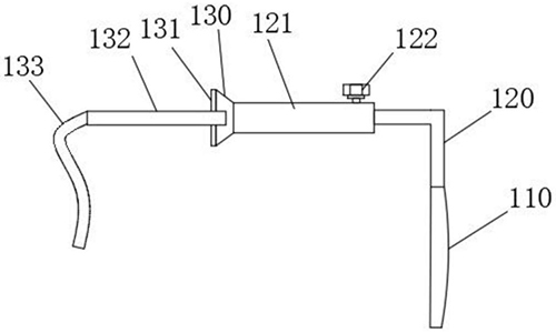
摘要: 本实用新型涉及遮光板技术领域,尤其涉及一种口外光固化灯遮光板,包括遮光弧形板,所述遮光弧形板的顶端设置有L型滑动连接板,所述L型滑动连接板的一侧滑动安装有空心支撑板,所述空心支撑板的一侧设置有圆台定位块,所述圆台定位块的两侧对称设置有弹性卡箍;所述空心支撑板的顶端螺纹安装有限位螺栓,所述限位螺栓的底端设置有防滑垫片。本实用新型通过设置有弹性卡箍、圆台定位块和固定绳,通过弹性卡箍卡在额头前方,其具有弹性,便于对额头进行固定,圆台定位块抵住额头定位,两个固定绳相互捆绑收紧,遮光弧形板挡在眼睛前侧,使得操作过程中最大范围的遮挡了光固化灯的有害光线,同时不会影响光固化灯的操作。

























