授权专利
气管插管固定支架
公开(公告)号: CN219963675U
摘要附图:

标题: 气管插管固定支架
专利类型: 实用新型
申请日: 2023-05-05
公开(公告)日: 2023-11-07
发明人: 蔡彤鑫
当前申请(专利权)人: 首都医科大学附属北京潞河医院
IPC分类号: A61M16/04
法律状态/事件: 授权
技术功效语段: -
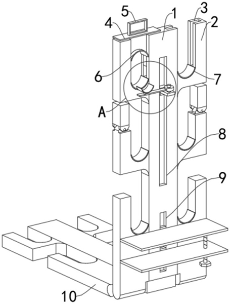
摘要: 本实用新型公开了一种气管插管固定支架,涉及到气管插管领域,包括作为主体构造的第一固定架,第一固定架的底端转动第二固定架,第一固定架两侧的顶端均设置有第一U型卡,第一U型卡和第一固定架相对的一侧均开设有插槽,两个插槽内部插入设置有卡板,可以将气管插管放于第一U型卡和第一固定架之间的空隙内,此时再将卡板滑动插入于两个插槽内,对放入的气管插管的上半部分进行卡合,防止气管出现移动,另外第二弧形垫和第一弧形垫可以对气管的外侧进行保护,另外通过转动固定轴上的轴套,使连接板平行于第一U型卡,此时连接板上的第三弧形垫和第二弧形垫平行,可以延长对气管的支撑长度,防止气管断折。

























