授权专利
手关节牵伸活动器具
公开(公告)号: CN219963203U
摘要附图:

标题: 手关节牵伸活动器具
专利类型: 实用新型
申请日: 2023-05-25
公开(公告)日: 2023-11-07
发明人: 沈宝征
当前申请(专利权)人: 首都医科大学附属北京潞河医院
IPC分类号: A61F5/042 | A61F5/05 | A61H1/02
法律状态/事件: 授权
技术功效语段: -
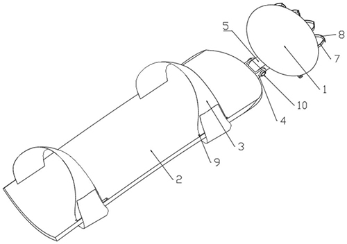
摘要: 本发明涉及:一种手关节牵伸活动器具,包括手部固定组件和小臂固定组件,所述手部固定组件为一个椭圆球体结构,手将其握住,所述小臂固定组件为弧形板状结构,其上设有小臂固定绑带,通过小臂固定绑带将小臂绑在小臂固定组件上;手部固定组件和小臂固定组件相互靠近的一端分别设有铰接块和铰接耳,所述铰接块内部设有双轴马达,双轴马达的输出轴带动铰接耳绕铰接块转动。本发明具有如下优点:本发明结构简单,适用于多种情况,有利于对手腕进行活动或固定,且使用方便。

























