授权专利
一种中医护理用熏蒸桶
公开(公告)号: CN219307355U
摘要附图:

标题: 一种中医护理用熏蒸桶
专利类型: 实用新型
申请日: 2023-05-26
公开(公告)日: 2023-07-07
当前申请(专利权)人: 首都医科大学附属北京潞河医院
IPC分类号: A61H33/06 | A61H7/00 | B08B9/087
法律状态/事件: 授权
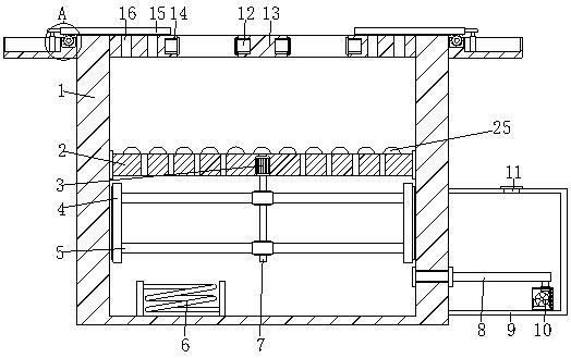
技术功效语段: [0011]1、该中医护理用熏蒸桶,通过利用第二电机带动齿轮进行旋转,利用齿轮与齿条啮合连接,可以带动挡板进行移动,同时带动滑块在滑槽的内部滑动,利用挡板移动可以对顶板的顶部的通槽进行遮挡,可以根据情况调节密封孔的使用状态,防止水蒸气大多数不受控制地露出浪费,同时将小腿插入桶中时,借用环形槽内部的充气气囊可以对腿部进行包裹,提高了桶体的密封性和实用性。 [0012]2、该中医护理用熏蒸桶,通过利用踏板顶部的按摩凸块可以对脚底进行按摩,利用注入口可以向水箱内部注入水,利用水泵可以将水箱内部的水输送给输出水管,利用输出水管将水注入熏蒸桶体的内部,然后利用加热丝对水进行加热,使其完成熏蒸工作,利用第一电机带动转轴进行旋转,可以带动连接杆进行转动,同时可以调节刮板的位置,利用刮板可以对熏蒸桶体内壁上附着上的药渣进行清除,增加了装置的功能性。
摘要: 本实用新型公开了一种中医护理用熏蒸桶,涉及熏蒸桶技术领域,包括熏蒸桶体,熏蒸桶体的内部固定安装有顶板,顶板的内部开设有通槽,顶板的内部固定安装有环形槽,环形槽的内部固定安装有充气气囊,熏蒸桶体的两侧均固定安装有安装板,安装板的顶部开设有滑槽,本实用新型的有益效果为:通过利用第二电机带动齿轮进行旋转,利用齿轮与齿条啮合连接,可以带动挡板进行移动,同时带动滑块在滑槽的内部滑动,利用挡板移动可以对顶板的顶部的通槽进行遮挡,可以根据情况调节密封孔的使用状态,防止水蒸气大多数不受控制地露出浪费,同时将小腿插入桶中时,借用环形槽内部的充气气囊可以对腿部进行包裹,提高了桶体的密封性和实用性。

























