授权专利
一种腔镜用戳卡
公开(公告)号: CN219331898U
摘要附图:

标题: 一种腔镜用戳卡
专利类型: 实用新型
申请日: 2023-06-08
公开(公告)日: 2023-07-14
发明人: 孙武青 | 潘玮瑄 | 孙海涛 | 郝少龙
当前申请(专利权)人: 首都医科大学附属北京潞河医院
IPC分类号: A61B18/12
法律状态/事件: 授权
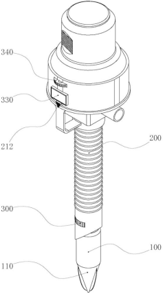
技术功效语段: [0018]根据本实用新型的一些实施例,腔镜用戳卡包括穿刺器和穿刺管套;其中,穿刺器穿设在穿刺管套上,穿刺器的一端设置有穿刺部;在插入本装置时,穿刺器和穿刺管套连接在一起,通过穿刺器的穿刺部在患者身体上开孔,然后穿刺器和穿刺管套一起进入患者体内;在本实施例中,通过在穿刺管套靠近穿刺部的一端设置热凝结构,在将本装置插入或拔出患者体内时,热凝结构能够产生高温,并直接作用于戳孔深处的出血点,使创口周围的细胞的内外液体气化,使细胞收缩凝固,封闭血管壁止血。避免本装置在使用时,创口周围持续出血;不仅如此,在将本装置拔出时,由于穿刺管套在脱离戳孔时,可能会与戳孔侧壁产生摩擦,导致戳孔内壁产生二次撕裂出血,通过再次使热凝结构产生高温,并直接作用于戳孔创口处,使创口周围的细胞的内外液体气化,使细胞收缩凝固,封闭血管壁止血。避免了在取出本装置后任需进行创口封闭,取消了人工寻找出血点的步骤,从而降低了对患者身体的损害;同时,还具有降低了手术流程,提高手术效率的优点。 [0019]根据本实用新型的一些实施例,通过在加热金属片的外侧设置导热隔离层的结构,能够避免加热金属片直接作用于戳孔创口处,导致加热金属片和创口组织粘合到一起;除此之外,还能够避免通过加热金属片上的电流连通患者身体,导致患者创口周围的神经组织受到电流的影响而损坏。 [0020]根据本实用新型的一些实施例,加热金属片为具有开口的圆环状结构。通过设置开口,在进行加热金属片对戳孔内的创口进行热凝时,通过调整穿刺管套的角度,能够使加热金属片的开口处朝向神经组织密集分布区域,避免高温损伤神经组织。 [0021]根据本实用新型的一些实施例,通过在导热隔离层的外侧壁上设置波浪型凸起,能够提高导热隔离层和出血点周围组织的接触面积,提高止血效果。
摘要: 本实用新型涉医疗设备技术领域,具体提供一种腔镜用戳卡,包括穿刺器和穿刺管套,其中,穿刺器穿设在穿刺管套上,穿刺器的一端设置有穿刺部;通过在穿刺管套靠近穿刺部的一端设置热凝结构,在将本装置插入或拔出患者体内时,热凝结构能够产生高温,并直接作用于戳孔深处的出血点,使创口周围的细胞的内外液体气化,使细胞收缩凝固,封闭血管壁止血。采用本结构的设计能够对戳孔深部组织进行快速止血,止血效果好,在止血时不用寻找出血点,提高了手术治疗的质量。

























