授权专利
一种床上用垃圾桶
公开(公告)号: CN219602234U
摘要附图:
标题:一种床上用垃圾桶
专利类型:实用新型
申请日:2023-03-23
公开(公告)日:2023-08-29
发明人: 秦晓琳
当前申请(专利权)人:首都医科大学附属北京潞河医院
IPC分类号:B65F1/14 | B65F1/16 | B65F1/00
法律状态/事件:授权
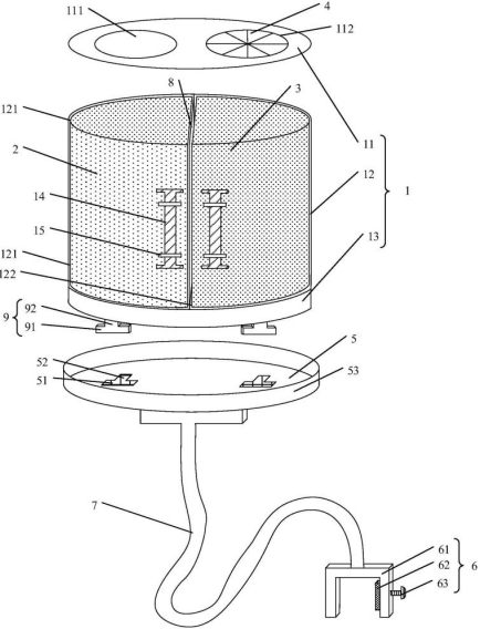
技术功效语段: [0017]1、本实用新型提供的床上用垃圾桶干湿分离,外桶盖上与湿垃圾桶对应设有第二开口,通过在第二开口内周缘设有多个独立的硅胶块,不扔垃圾时,硅胶块将第二开口封闭,扔垃圾时,硅胶块向湿垃圾桶内部弯折,扔完垃圾后,硅胶块回弹将第二开口封闭,避免了湿垃圾桶内异味的散发。 [0018]2、本实用新型提供的床上用垃圾桶通过夹持部夹在病床床头或床边的栏杆上,行动不便的病人需要扔垃圾时,仅需要拉动可灵活形变的铝合金连接杆就可将垃圾桶拉到自己面前,避免下地寻找垃圾桶的麻烦。 [0019]3、本实用新型提供的床上用垃圾桶设置于外桶内的干垃圾桶和湿垃圾桶为可抽拉设计,倾倒垃圾简单方便。 [0020]4、本实用新型提供的床上用垃圾桶材质为软硅胶,在病房内使用不会有安全隐患且成本低、经济适用。 [0021]当然,实施本实用新型的任一产品必不特定需要同时达到以上所述的所有技术效果。 [0022]通过以下参照附图对本实用新型的示例性实施例的详细描述,本实用新型的其它特征及其优点将会变得清楚。
摘要: 本实用新型公开了一种床上用垃圾桶,包括:软硅胶外桶,外桶内部包括相对设置的干垃圾桶和湿垃圾桶,分别经外壳上的第一镂空区和第二镂空区插入外桶内;外桶盖上设有分别与干垃圾桶和湿垃圾桶对应的第一开口和第二开口,第二开口内周缘设有多个独立的硅胶块;支撑底座,与外桶底座卡接;夹持部,包括U型夹板、限位垫块和调节螺杆;铝合金连接杆,连接支撑底座与夹持部。通过在第二开口内周缘设有多个独立的硅胶块,扔垃圾时,硅胶块向湿垃圾桶内部弯折,扔完垃圾后,硅胶块回弹将第二开口封闭,避免了湿垃圾桶内异味的散发;铝合金连接杆可灵活形变便于拉取垃圾桶;垃圾桶可抽拉,倾倒垃圾简单方便;垃圾桶材质为软硅胶,安全且经济适用。

























