授权专利
一种血透用血透管固定保护套装置
公开(公告)号: CN219090479U
摘要附图:

标题: 一种血透用血透管固定保护套装置
专利类型: 实用新型
申请日: 2022-12-09
公开(公告)日: 2023-05-30
发明人: 张伟
当前申请(专利权)人: 首都医科大学附属北京潞河医院
IPC分类号: A61M1/14 | A61M25/00 | A61M39/08
法律状态/事件: 授权
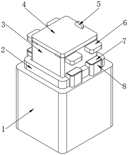
技术功效语段: [0015]通过设置有外壳、调节槽、液压缸、保护壳、防护套、第一限位板和第二限位板,能够方便对血透管进行保护,且方便对血透管进行拿取,利用液压缸带动保护壳进行高度抬升,能够通过保护壳对血透管进行保护,在需要使用时在通过调整伸缩保护壳的高度,来方便对血透管进行拿取,通过第一限位板和第二限位板,有效对保护壳进行限位,实现保证防护套稳定性的目的,避免不方便医务人员拿取使用,以及不方便血透管集中储存摆放,局限性较大的问题。
摘要: 本申请公开了一种血透用血透管固定保护套装置,属于血液透析技术领域,包括防护座,所述防护座的上表面固定连接有外壳,防护座的上表面开设有调节槽,调节槽的内壁固定连接有两个液压缸,两个液压缸的伸缩端固定连接有保护壳,防护座的上表面固定连接有若干个相同的防护套,每个防护套的外表面均与保护壳的内部滑动连接,每个防护套的内部均卡接有血透管。该血透用血透管固定保护套装置,通过设置有外壳、调节槽、液压缸、保护壳、防护套、第一限位板和第二限位板,能够方便对血透管进行保护,且方便对血透管进行拿取,实现保证防护套稳定性的目的,避免不方便医务人员拿取使用,以及不方便血透管集中储存摆放,局限性较大的问题。

























