授权专利
一种子宫促进收缩装置
公开(公告)号: CN218979670U
摘要附图:

标题: 一种子宫促进收缩装置
专利类型: 实用新型
申请日: 2023-02-27
公开(公告)日: 2023-05-09
发明人: 张磊
当前申请(专利权)人: 首都医科大学附属北京潞河医院
IPC分类号: A61H7/00 | A61G7/05
法律状态/事件: 授权
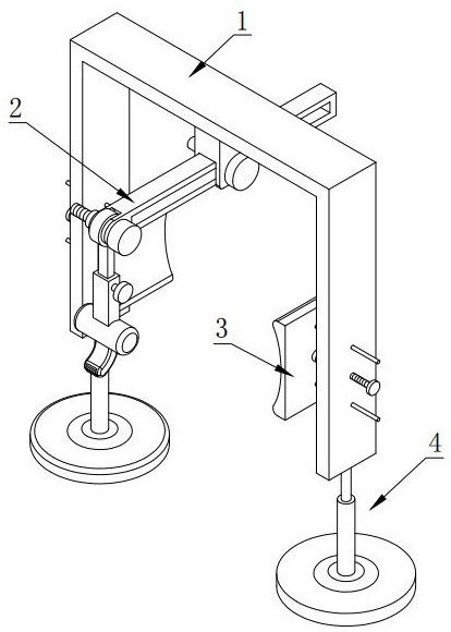
技术功效语段: [0016]本实用新型提供的子宫促进收缩装置,在使用时,将该子宫促进收缩装置横跨在病床上,然后操作第一锁紧螺栓调节水平导轨在安装座上的位置,然后通过调节螺栓调节连接杆的倾斜角度,再通过第二锁紧螺栓调节套杆在连接杆上的位置,最终使得弧形压紧块的高度以及角度都比较合适,可以正好压在产妇肚皮部的宫底位置处,利用弧形压紧块压在产妇肚皮部的宫底位置处,且保持弧形压紧块的内弧面朝向产妇腿部方向,使得弧形压紧块在对宫底压迫的同时可以对宫底朝向产妇腿部方向进行施力,从而可以促进子宫收缩,在朝向产妇腿部方向的施力条件下可以大幅提高促进子宫收缩的效果。
摘要: 本实用新型提供了一种子宫促进收缩装置,包括:龙门架以及子宫促进收缩组件。子宫促进收缩组件包括安装座、水平导轨、第一锁紧螺栓、连接座、连接杆、套杆、圆柱形配装座以及弧形压紧块,安装座固定安装在龙门架的内顶壁底部,水平导轨水平且滑动地安装在安装座的底部,水平导轨上沿其长度方向开设有长条形通槽,且水平导轨的一端开设有安装槽,第一锁紧螺栓螺接在安装座上,且第一锁紧螺栓的螺杆穿过长条形通槽设置。本实用新型提供的子宫促进收缩装置,设置的弧形压紧块在对宫底压迫的同时可以对宫底朝向产妇腿部方向进行施力,从而可以促进子宫收缩,在朝向产妇腿部方向的施力条件下可以大幅提高促进子宫收缩的效果。

























