授权专利
一种引流管和引流瓶的固定装置
公开(公告)号: CN218900353U
摘要附图:

标题: 一种引流管和引流瓶的固定装置
专利类型: 实用新型
申请日: 2022-08-09
公开(公告)日: 2023-04-25
发明人: 曹亚昆
当前申请(专利权)人: 首都医科大学附属北京潞河医院
IPC分类号: A61M1/00 | A61M25/02
法律状态/事件: 授权
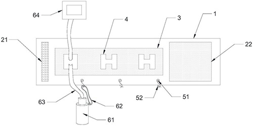
技术功效语段: [0019]本实用新型的腰部固定带能缠绕在患者腰部,再利用H型固定贴来将引流管固定在第二魔术贴母贴上,H型固定贴分为第一竖向固定部、横向粘贴部和第二竖向固定部,第一竖向固定部与第二魔术贴母贴相连接,而引流管通过横向粘贴部粘贴在引流管的周向上,实现了引流管相对于H型固顶帖的相对固定;第二竖向固定部下表面设置有第二魔术贴子贴并能与第二魔术贴母贴可拆卸连接,也即第二竖向固定部可以固定在第二魔术贴母贴上的任意位置,这样通过调整第二竖向固定部与第一竖向固定部之间的横向距离,来调节引流管被束缚的松紧程度,从而实现即不容易脱管,也不容易对引流管缠绕力量过大引起引流管折叠引流不畅的情况发生。
摘要: 本实用新型提供了一种引流管和引流瓶的固定装置,涉及护理技术领域,解决了现有技术中引流管要么容易脱管要么不能引流通畅并易对患者造成伤害的技术问题。该引流管和引流瓶的固定装置包括两端分别设置有第一魔术贴子贴和第一魔术贴母贴的腰部固定带;腰部固定带中部沿其长度方向设置有第二魔术贴母贴,第二魔术贴母贴上设置有H型固定贴,H型固定贴包括第一竖向固定部、横向粘贴部和第二竖向固定部,第一竖向固定部与第二魔术贴母贴相连接;横向粘贴部能环绕并粘结在引流管周向上;第二竖向固定部下表面设置有第二魔术贴子贴并能与第二魔术贴母贴可拆卸连接;腰部固定带下侧还设置有引流瓶挂孔。本实用新型用于更好地引流并使患者保持舒适。

























