授权专利
一种新生儿定量哺乳勺
公开(公告)号: CN218765461U
摘要附图:

标题: 一种新生儿定量哺乳勺
专利类型: 实用新型
申请日: 2022-11-09
公开(公告)日: 2023-03-28
发明人: 齐青
当前申请(专利权)人: 首都医科大学附属北京潞河医院
IPC分类号: G01F19/00
法律状态/事件: 授权
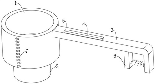
技术功效语段: [0026]1.一种新生儿定量哺乳勺,包括第一勺体、勺柄和控制机构,可以手持勺柄用第一勺体舀取奶粉罐中的奶粉,舀取的奶粉要高于第一勺体的顶部边缘,此时可以通过控制机构带动转动柱转动,进而转动柱将会带动转动拨杆转动,转动拨杆转动的过程中经过第一勺体的顶部边缘可以将多余的奶粉刮下,进而使得奶粉在第一勺体的内部刚好为一平勺,避免需要人为的将第一勺体内部的多余奶粉抖下而导致奶粉量取不精确。 [0027]2.一种新生儿定量哺乳勺,包括第二勺体,第二勺体可以在第一勺体的内部上下移动,第二勺体边缘的凸边可以起到限位的作用,防止第二勺体完全从第一勺体的底部脱离,定位机构可以使得第二勺体在第一勺体内部的任意位置停下固定,进而第二勺体起到改变第一勺体容易的作用,使得该装置适用于不同食量的新生儿。 [0028]参照后文的说明和附图,详细公开了本实用新型的特定实施方式,指明了本实用新型的原理可以被采用的方式。应该理解,本实用新型的实施方式在范围上并不因而受到限制。 [0029]针对一种实施方式描述和/或示出的特征可以以相同或类似的方式在一个或更多个其它实施方式中使用,与其它实施方式中的特征相组合,或替代其它实施方式中的特征。
摘要: 本实用新型公开了一种新生儿定量哺乳勺,包括:第一勺体和勺柄,所述勺柄固定安装在第一勺体的侧面边缘,勺柄的上表面与第一勺体的顶部边缘齐平,所述勺柄的顶部通过转动柱活动设有转动拨杆,所述勺柄的内部开设有空腔,空腔的内部设有控制转动柱转动的控制机构;本实用新型可以手持勺柄用第一勺体舀取奶粉罐中的奶粉,舀取的奶粉要高于第一勺体的顶部边缘,此时可以通过控制机构带动转动柱转动,进而转动柱将会带动转动拨杆转动,转动拨杆转动的过程中经过第一勺体的顶部边缘可以将多余的奶粉刮下,进而使得奶粉在第一勺体的内部刚好为一平勺,避免需要人为的将第一勺体内部的多余奶粉抖下而导致奶粉量取不精确。

























