授权专利
一种改良版三通接头
公开(公告)号: CN218582568U
摘要附图:

标题: 一种改良版三通接头
专利类型: 实用新型
申请日: 2022-09-14
公开(公告)日: 2023-03-07
发明人: 王玉玲 | 邵良琼 | 王雪
当前申请(专利权)人: 首都医科大学附属北京潞河医院
IPC分类号: F16L41/02 | F16L29/02 | F16L55/07
法律状态/事件: 授权
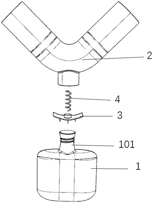
技术功效语段: [0009]本实用新型设有收集瓶和三通管,将收集瓶接入三通管的下接头时,可以将三通管内部的挡板向上顶起,三通管和收集瓶相通,便于收集三通管内部的冷凝水,在收集瓶取下时,挡板会下落至下接头的通口位置,堵住通口,避免气体出来。
摘要: 本实用新型涉及医疗器械领域,具体地说,涉及一种改良版三通接头,一种改良版三通接头,包括收集瓶、三通管、挡板和弹簧,所述收集瓶设在所述三通管上,所述三通管内设有挡板,所述挡板上设有所述弹簧;本实用新型设有收集瓶和三通管,将收集瓶接入三通管的下接头时,可以将三通管内部的挡板向上顶起,三通管和收集瓶相通,便于收集三通管内部的冷凝水,在收集瓶取下时,挡板会下落至下接头的通口位置,堵住通口,避免气体出来。

























