授权专利
一种多功能消毒装置
公开(公告)号: CN218820868U
摘要附图:

标题: 一种多功能消毒装置
专利类型: 实用新型
申请日: 2023-02-07
公开(公告)日: 2023-04-07
发明人: 沈宝征
当前申请(专利权)人: 首都医科大学附属北京潞河医院
IPC分类号: F24F8/20 | F24F8/158 | F24F8/80
法律状态/事件: 授权
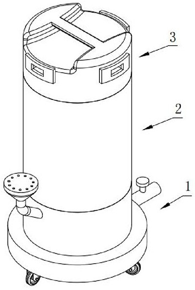
技术功效语段: [0023]本实用新型提供的多功能消毒装置主要由底部消毒组件、空气吸入机构以及除臭组件组成,其中,底部消毒组件用于对感染科科室内空气进行消毒,空气吸入机构用于将感染科科室内空气吸入消毒液储液壳体内部,除臭组件用于对空气吸入机构吸入的空气进行除臭,使得该多功能消毒装置具备对空气进行消毒功能的同时还具备对空气进行除臭的功能,处理的空气质量更佳,设置的底部消毒组件主要由底座、消毒液储液壳体以及排气管组成,空气吸入机构主要由外壳、环形连接板、集气罩、吸风机以及连接管组成,设置的消毒液储液壳体用于存储消毒液,设置的吸风机用于将感染科科室内的空气吸入消毒液储液壳体内部的消毒液中进行消毒,相比较现有的空气消毒装置,本多功能消毒装置,对空气的消毒效果更好,尤为重要的是可防止消毒液弥漫在空气中对人体造成伤害,在感染科科室内有人的情况下,依然可以对空气进行消毒处理,实用性更好。
摘要: 本实用新型提供了一种多功能消毒装置,包括:底部消毒组件、空气吸入机构以及除臭组件,部消毒组件包括底座、消毒液储液壳体以及排气管,消毒液储液壳体固定安装在底座的上部;空气吸入机构包括外壳、环形连接板、集气罩、吸风机以及连接管;除臭组件包括上盖、环形安装座以及活性炭滤芯。本实用新型提供的多功能消毒装置,具备对空气进行消毒功能的同时还具备对空气进行除臭的功能,处理的空气质量更佳,相比较现有的空气消毒装置,本多功能消毒装置,对空气的消毒效果更好,尤为重要的是可防止消毒液弥漫在空气中对人体造成伤害,在感染科科室内有人的情况下,依然可以对空气进行消毒处理,实用性更好。

























