授权专利
动脉血栓清除辅助装置
公开(公告)号: CN218852775U
摘要附图:

标题: 动脉血栓清除辅助装置
专利类型: 实用新型
申请日: 2022-09-16
公开(公告)日: 2023-04-14
发明人: 王艳阳
当前申请(专利权)人: 首都医科大学附属北京潞河医院
IPC分类号: A61B17/22 | A61M1/00 | A61M25/10
法律状态/事件: 授权
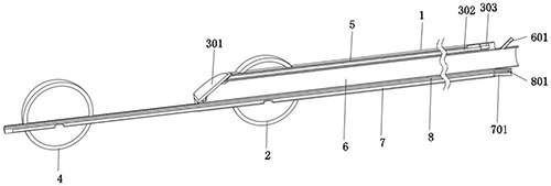
技术功效语段: [0019]1、本实用新型设置有远端保护球囊和近端阻断球囊,通过在充压腔远端设置远端保护球囊,充压腔与封闭组件腔之间的腔口之间设置近端阻断球囊,在进行吸拴过程中,充盈的远端保护球囊会防止脱落的血栓碎片掉落远端造成栓塞,充盈的近端阻断球囊可以防止血栓随着血液返流,双侧球囊可以很好的减少血栓抽吸时的血液丢失,以此降低对正常血栓抽吸的影响以及栓塞的发生率,更好的完成血栓抽吸。解决了进行血栓抽取时血栓脱落容易导致栓塞,从而中断血液流动,导致局部组织坏死,甚至威胁生命的问题。 [0020]2、本实用新型设置有封闭组件,需要通过主腔送入血栓清除装置时,医生可于封闭组件腔尾端操作封闭组件,将封闭组件堵住主腔始端的位置打开,并转动封闭组件堵住主腔始端的结构,从而方便血栓清除装置送入动脉血管。在将导管送入动脉血管的过程中,封闭组件将主腔的始端开口封闭,避免动脉血管内血液进入主腔内。 [0021]3、本实用新型设置有密封圈和扩张圈,密封圈插进主腔始端开口内,使得挡板定位在主腔始端处,加强挡板对主腔始端开口的封闭,并且椭圆形的扩张圈会进一步的将密封圈一侧扩张,对密封圈提供挤压力,使得密封圈与主腔始端开口内壁贴合效果更好,致使密封圈的密封效果更好。
摘要: 本实用新型涉及血栓清除技术领域,尤其涉及动脉血栓清除辅助装置。其技术方案包括导管,所述导管包括封闭组件腔、主腔、充压腔和导丝腔;所述封闭组件腔、主腔、充压腔和导丝腔开设于所述导管内部;所述封闭组件腔内设置有封闭组件;所述导管始端设置有近端阻断球囊,所述导管始端的伸长端设置有远端保护球囊,所述近端阻断球囊和远端保护球囊分别与充压腔连通。本实用新型具有充盈的远端保护球囊会防止脱落的血栓碎片掉落远端造成栓塞,充盈的近端阻断球囊可以防止血栓随着血液返流,双侧球囊可以很好的减少血栓抽吸时的血液丢失,以此降低对正常血栓抽吸的影响以及栓塞的发生率,更好的完成血栓抽吸的优点。

























