授权专利
一种可用于防液体及空气反流的脑室外引流装置
公开(公告)号: CN217793912U
摘要附图:

标题: 一种可用于防液体及空气反流的脑室外引流装置
专利类型: 实用新型
申请日: 2022-02-11
公开(公告)日: 2022-11-15
发明人: 刘东远
当前申请(专利权)人: 首都医科大学附属北京潞河医院
IPC分类号: A61M1/00
法律状态/事件: 授权
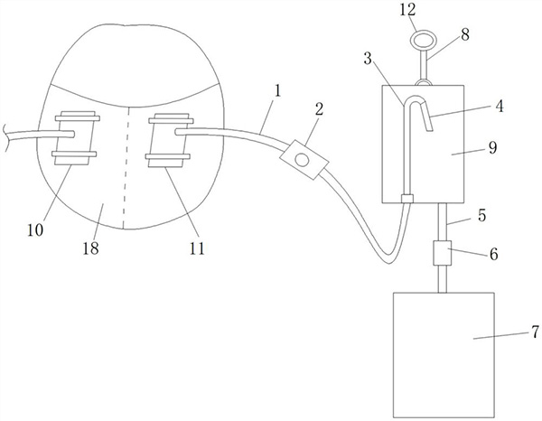
技术功效语段: [0021]本实用新型中,通过在连接管的上方设置防逆流模块,其防逆流模块能够实现连接管和计量引流瓶内的流通通路始终是连接管流向计量引流瓶的一端;即,所述防逆流模块能够实现连接管单向流通的目的;所述防逆流模块能够使血性脑脊液流出,可有效防治空气反流。作为优选的,所述防逆流模块可以是单向阀或疏水薄膜管。 [0022]本实用新型的其它特征和优点将在随后的说明书中阐述,并且,部分地从说明书中变得显而易见,或者通过实施本实用新型而了解。本实用新型的目的和其他优点可通过在所写的说明书以及附图中所特别指出的结构来实现和获得。
摘要: 本实用新型提供一种可用于防液体及空气反流的脑室外引流装置,包括:计量引流瓶,所述计量引流瓶的下底面间隔连接第一引流管和第二引流管,所述第一引流管的另一端用于连接颅顶内的第一引流区或第二引流区,所述第二引流管的另一端连接引流袋;所述计量引流瓶内还设置有防倒流装置,所述防倒流装置的底部连接所述第一引流管;本实用新型中,通过在连接管的上方设置防逆流模块,其防逆流模块能够实现连接管和计量引流瓶内的流通通路始终是连接管流向计量引流瓶的一端;即,所述防逆流模块能够实现连接管单向流通的目的;所述防逆流模块能够使血性脑脊液流出,可有效防治空气反流。作为优选的,所述防逆流模块可以是单向阀或疏水薄膜管。

























