授权专利
一种抽吸装置
公开(公告)号: CN218356821U
摘要附图:

标题: 一种抽吸装置
专利类型: 实用新型
申请日: 2022-11-18
公开(公告)日: 2023-01-24
发明人: 韩洋 | 陈洁 | 王楠 | 詹翠鑫
当前申请(专利权)人: 首都医科大学附属北京潞河医院
IPC分类号: A61M1/00 | A61B17/34
法律状态/事件: 授权
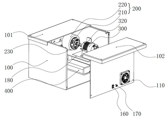
技术功效语段: [0020]根据本实用新型的方案,包括箱体、驱动机构、抽吸机构、分析控制模块、远程触发模块和/或声控模块,其中远程触发模块用于远程控制驱动机构启停,声控模块通过发出声音信号匹配预输入的音频指令以控制驱动机构启停,可以同时采用或选择其中之一,驱动机构用于为抽吸机构提供动力,抽吸机构包括泵体、泵体固定座、输入管和输出管。在本实用新型中,泵体、输入管和输出管采用一体化的结构,并且泵体可拆卸地安装在泵体固定座上,便于在术前或术后进行快速更换,极大地提高了工作效率。同时通过远程触发模块和/或声控模块控制泵体的运转,可以通过医务人员远程操控泵体和/或通过医务人员提前设置好口令信号,在使用时通过口令信号控制驱动机构的启停,智能化程度高,使用方便。不仅降低了手术台周围人员的密度,而且还能避免手术人员在进行手术的同时还需要手动控制泵体的运转,便于使用。并且自动化程度高,极大地提高了工作效率。进一步地,分析控制模块用于收集每次手术时泵体的运行时间和转动速度,分析生成控制曲线,控制曲线包含泵体在不同转动速度下的运行时间均值,以及泵体在不同转动速度下对驱动机构的运行时间进行控制的曲线,通过设置分析控制模块,能在多次手术过程中,收集手术每个阶段的泵体的运行时间和转动速度,并分析生成控制曲线,在进行新的手术时,控制曲线能够在手术的每个阶段智能地控制泵体的转速和持续时间,极大地增加了本装置的智能化。 [0021]根据本实用新型的方案,远程触发模块为脚踏式遥控开关,采用脚踏式遥控开关,通过踩踏的方式控制泵体的运转,解放了手术人员的双手,使得手术人员的双手一直控制输入管,单个手术人员即可操控本装置,协同性高,极大地提高了本装置的可操作性和工作效率。 [0022]根据本实用新型的方案,远程触发模块为蓝牙连接模块,通过蓝牙连接模块能够连接外接的智能设备,如智能手机、智能手表或智能音箱等,极大地提高了本装置的实用范围,以及在多种手术场景的实用性。 [0023]根据本实用新型的方案,泵体选用真空隔膜泵,真空隔膜泵具有通过性能好、可抽送带颗粒和粘稠的抽吸液、结构简单、易损件少、价格低等优点,并且本实用新型中的泵体、输入管和输出管为一体化的结构,使用完毕后整体更换即可,提高了本装置的使用效率并降低了医疗成本。 [0024]根据本实用新型的方案,输出管的一端连接真空隔膜泵的输出端,另一端可拆卸地安装有尖头,尖头沿自身轴线方向设置有注液孔和排气孔,注液孔连通输出管,尖头设置的结构便于将输出管直接插入带有软塞的集液瓶中,避免患者体内抽出的抽吸液泄漏;尖头靠近输出管的一端设置有挡块,挡块能够限制尖头的插入深度,避免尖头过度插入集液瓶;尖头拆卸后输出管能够连接引流袋的输入端。 [0027]根据本实用新型的方案,箱体包括隔板,隔板将箱体分隔为第一放置空间和第二放置空间,驱动机构和抽吸机构安装在第一放置空间内,蓄电池安装在第二放置空间内,隔板将箱体分隔为两个相对独立的空间,并将蓄电池和抽吸机构分隔开来,能够进一步的避免蓄电池产生的热量影响抽吸机构内的抽吸液的生化特性。 [0028]根据本实用新型的方案,箱体于第一放置空间内设置有温度传感器,便于检测箱体内的温度。 [0029]根据本实用新型的方案,所述箱体包括第一顶板和第二顶板,所述第一顶板固定安装在所述箱体顶部,所述第二顶板滑动安装在所述箱体顶部,所述第二顶板能够朝向/远离所述第一顶板的方向运动,并封闭/开放所述箱体顶部。通过上述结构的设计,便于拆装抽吸机构。 [0030]根据本实用新型的方案,泵体固定座包括弹性材质制成的卡箍,卡箍上设置有槽口,卡箍于槽口的一侧设置有第一压板,卡箍于槽口的另一侧设置有第二压板,第一压板上设置有调节带,第二压板上设置有调节孔,调节带上设置有齿形结构,调节带能够穿过调节孔。通过上述结构的设计便于拆装泵体。
摘要: 本实用新型涉及医疗设备领域,具体提供一种抽吸装置,抽吸装置包括箱体、驱动机构、抽吸机构、分析控制模块、远程触发模块和/或声控模块,远程触发模块用于远程控制驱动机构启停,声控模块通过发出声音信号匹配预输入的音频指令以控制驱动机构启停,驱动机构用于为抽吸机构提供动力,抽吸机构包括泵体、泵体固定座、输入管和输出管。分析控制模块用于收集每次手术时泵体的运行时间和转动速度,分析生成控制曲线,通过设置分析控制模块,能在多次手术过程中,收集手术每个阶段的泵体的运行时间和转动速度,并分析生成控制曲线,在进行新的手术时,控制曲线能够在手术的每个阶段智能地控制泵体的转速和持续时间,极大地增加了本装置的智能化。

























