授权专利
多功能电动起立床
公开(公告)号: CN218338631U
摘要附图:

标题: 多功能电动起立床
专利类型: 实用新型
申请日: 2022-09-14
公开(公告)日: 2023-01-20
发明人: 陈英武
当前申请(专利权)人: 首都医科大学附属北京潞河医院
IPC分类号: A61G7/005 | A61G7/05 | A61G7/07 | A61G7/075 | A61F5/37
法律状态/事件: 授权
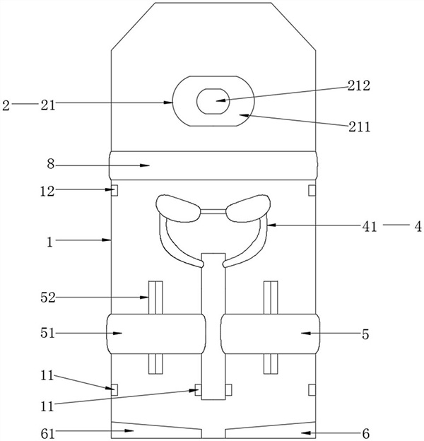
技术功效语段: [0019]本实用新型的有益效果为:通过设置有头部固定组件,头部固定组件包括固定软枕,固定软枕可以有效承托头部和颈部,防止头颈向两侧倾斜引发异常姿势; [0020]通过设置有手部固定组件,手部固定组件包括桌板和手部固定件,桌板可拆卸连接在床板上,桌板可优选采用加深的深度设计,使手部和手肘均能够放置在桌板上,手部固定件连接在桌板上,手部固定件能将患者手部进行固定,帮助患者在站立训练的同时进行伸腕、伸指训练,丰富产品的基本功能; [0021]通过设置有骨盆固定组件,骨盆固定组件能将患者骨盆和大腿根部进行绑缚固定,防止患者在站立时盆骨向两侧的倾斜,保证患者站立时保持稳定的位置,避免异常姿势; [0022]通过设置有膝部固定组件,膝部固定组件能将患者膝关节进行绑缚固定,减少晃动,从而避免偏瘫患者站立训练时髋关节的外旋; [0023]通过设置有第一脚踏板组件,第一脚踏板组件能对患者脚部进行承托。
摘要: 本实用新型提供了一种多功能电动起立床,涉及医疗器械技术领域。它包括床板、头部固定组件、手部固定组件、骨盆固定组件、膝部固定组件和第一脚踏板组件,头部固定组件有效承托头部和颈部,防止头颈向两侧倾斜引发异常姿势,手部固定组件能将患者手部进行固定,帮助患者在站立训练的同时进行伸腕、伸指训练,骨盆固定组件能将患者骨盆和大腿根部进行绑缚固定,防止患者在站立时盆骨向两侧的倾斜,保证患者站立时保持稳定的位置,避免异常姿势,膝部固定组件能将患者膝关节进行绑缚固定,减少晃动,从而避免偏瘫患者站立训练时髋关节的外旋,第一脚踏板组件能对患者脚部进行有效承托。

























