授权专利
一种心电图胸前导联收纳装置
公开(公告)号: CN217659895U
摘要附图:

标题: 一种心电图胸前导联收纳装置
专利类型: 实用新型
申请日: 2022-05-10
公开(公告)日: 2022-10-28
发明人: 李多
当前申请(专利权)人: 首都医科大学附属北京潞河医院
IPC分类号: A61B5/321
法律状态/事件: 授权
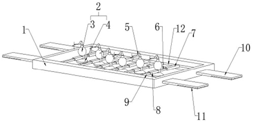
技术功效语段: [0013]1、通过在防滑带的内侧设置有六个胸导联,防滑带的内部设置有软胶壳,胸导联的后侧设置有第一软滑管和第一软套管,胸导联的前侧设置有第二软滑管和第二软套管,第一软套管、第二软滑管与软胶壳之间均设置有第一滑块和第一滑槽,便于医务人员将装置放置在患者胸口上时,可滑动胸导联带动第一滑块在第一滑槽内移动,从而调节胸导联左右之间的距离,便于根据患者的身形进行调节,满足不同胖瘦的患者使用,同时第一软滑管、第一软套管与第二软滑管、第二软套管之间均设置有第二滑块和第二滑槽,便于对胸导联上下的位置进行微调,保证心电图检测的准确性,进一步提高装置的适用性,通过在防滑带的下方设置有亲肤层、粘连层和杀菌层,便于装置在使用时,不会对患者造成不舒适感,使得装置更加亲肤,同时便于对亲肤层进行快速更换,保证使用的安全性,避免出现细菌感染的情况。 [0014]2、通过若干胸导联之间位置和次序的有序排列,使得医务人员只需将装置放置在病人胸前即可,然后对胸导联之间上下左右的距离进行微调,以便适应不同的患者,从而装置的使用能够明显提高医生做心电图的效率,避免由于导线杂乱,造成导联位置错误的情况,减少出错效率,使用更加省时省力,并且能够减少单个胸导联丢失的情况,一体化的装置使用更加简单快捷,通过在防滑带的两侧设置有一组连接带,连接带的底部设置有医用粘贴层,便于将装置稳定的放置在患者胸前,避免由于患者晃动造成装置掉落的情况,提高装置使用的安全和稳定,保证检测结果的准确性。
摘要: 本实用新型涉及医疗器械技术领域,公开了一种心电图胸前导联收纳装置,包括防滑带、软胶壳和胸导联,所述防滑带的内侧设置有六个胸导联,所述防滑带的内部设置有软胶壳,所述胸导联的后侧设置有第一软滑管,所述第一软滑管的外侧设置有第一软套管,所述胸导联的前侧设置有第二软套管,所述第二软套管的内侧设置有第二软滑管。本实用新型通过在胸导联前后分别设置有第二软滑管、第二软套管和第一软滑管、第一软套管,第一软套管、第二软滑管与软胶壳之间均设置有第一滑块和第一滑槽,便于医务人员将装置放置在患者胸口上时,可滑动胸导联移动,从而调节胸导联左右之间的距离,便于根据患者的身形进行调节,满足不同胖瘦的患者使用。

























