授权专利
食物热量模型
公开(公告)号: CN217588434U
摘要附图:

标题: 食物热量模型
专利类型: 实用新型
申请日: 2022-04-19
公开(公告)日: 2022-10-14
发明人: 李爱华 | 王晓静
当前申请(专利权)人: 首都医科大学附属北京潞河医院
IPC分类号: G16H20/60
法律状态/事件: 授权
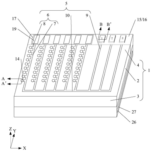
技术功效语段: [0019]本实用新型提供的食物热量模型中滑动件包括固定块、连接杆和球体,连接杆一端连接固定块,另一端连接球体,固定块位于导轨内,连接杆至少部分位于导轨内,球体包括附部,附部为食物信息图案;通过附部可以知晓该滑动件代表的是哪种食物和这种食物在90大卡时的熟重,以便于计算食物摄入热量和控制摄入食物的重量。将滑动件移动至经由第四导轨移入第三导轨中,将需要计算的食物热量汇聚至第三导轨中便于计算,更加直观。第二板体的第二表面设有沿第一方向上排列的标签区和第一凹槽,标签区包括多个沿第一方向排列的标签卡槽,标签卡槽与梳状导轨一一对应。将食物种类相同的滑动件滑动至同一梳状导轨中,不同的梳状导轨对应的标签卡槽内设有不同的标签,实现对滑动件的分类,方便使用。 [0020]当然,实施本实用新型的任一产品必不特定需要同时达到以上所述的所有技术效果。 [0021]通过以下参照附图对本实用新型的示例性实施例的详细描述,本实用新型的其它特征及其优点将会变得清楚。
摘要: 本实用新型公开了一种食物热量模型,包括:第一板体、导轨、多个滑动件,滑动件包括固定块、连接杆和球体,球体包括附部,附部为食物信息图案。通过附部可以知晓该滑动件代表的是哪种食物和这种食物在90大卡时的熟重,以便于计算食物摄入热量和控制摄入食物的重量。将滑动件移动至经由导轨移至指定位置,使需要计算的食物热量汇聚在一起便于计算,更加直观。

























