授权专利
【实用新型】止血带
公开(公告)号: CN215191981U
摘要附图:

标题: 止血带
专利类型: 实用新型
申请日: 2021-05-21
公开(公告)日: 2021-12-17
发明人: 赵静
当前申请(专利权)人: 首都医科大学附属北京潞河医院
IPC分类号: A61B17/135 | A61B17/12
法律状态/事件: 授权
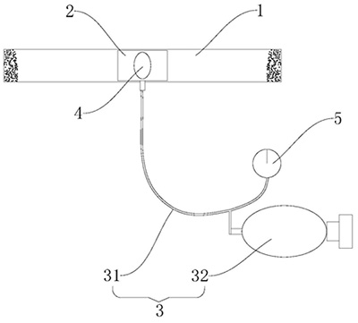
技术功效: [0019]本实用新型提供的止血带的有益效果在于:现有技术相比,本实用新型止血带中设有指压球,其中指压球能够精准地对患者创口进行压迫。当对患者创口进行止血时,将止血带固定于患者肢体的创口处,通过充放气装置中的充放气单元和输气管对加压气囊进行充放气,从而调节指压球压迫患者创口的压力,并且压力表可以显示加压气囊内的压力值,故可以通过压力表和充放气装置来精准地控制压迫创口的压力。
摘要: 本实用新型提供了一种止血带。其包括止血带本体、加压气囊、充放气装置、指压球以及压力表。止血带本体为长条形的柔性带状结构,能够固定于患者肢体的创口处;加压气囊位于止血带本体上,在充气时能够膨胀以张紧止血带本体;充放气装置包括与加压气囊连接的输气管以及通过输气管对加压气囊进行充放气的充放气单元;指压球设于止血带本体内侧并压迫于患者肢体的创口处;压力表与加压气囊相连通。其中指压球能够精准地对患者创口进行压迫。当对患者创口进行止血时,将止血带固定于患者肢体的创口处,通过充放气装置对加压气囊进行充放气,从而调节指压球压迫患者创口的压力,且压力表可以显示加压气囊内的压力值。故可以精准地控制压迫创口的压力。

























