授权专利
【实用新型】用于临床使用的检查治疗床
公开(公告)号: CN215193344U
摘要附图:

标题: 用于临床使用的检查治疗床
专利类型: 实用新型
申请日: 2021-07-02
公开(公告)日: 2021-12-17
发明人: 李美冬
当前申请(专利权)人: 首都医科大学附属北京潞河医院
IPC分类号: A61G13/00 | A61G13/10 | A61G1/02 | A61G1/04 | A61G7/00 | A61G7/05 | A61M16/00
法律状态/事件: 授权
技术功效: [0020]第一、本实用新型提供的用于临床使用的检查治疗床,利用收纳组件可以固定氧气瓶,便于氧气瓶跟随床体一起移动,节约人力物力,同时也减少了因氧气瓶掉落延长转运时间的可能性,从而使患者尽快得到治疗,提高了救治患者的效率。 [0021]第二、本实用新型提供的用于临床使用的检查治疗床,无需使用收纳组件时,可以将其收纳至第二状态,防止平时碰撞到医护人员,不利于医护人员对患者进行救治,同时也可以避免对患者上下病床造成影响,有利于方便患者活动。
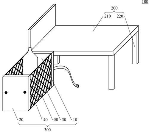
摘要: 本申请公开了一种用于临床使用的检查治疗床,包括床体和收纳组件,收纳组件与床体的床腿可拆卸连接;收纳组件包括:第一分部包括第一平板、第一侧板和第一固定杆;第二分部包括第二平板、第二侧板和第二固定杆;第三分部的第三平板与第一固定杆转动连接,至少部分第三平板位于第一容纳空间内;第四分部的第四平板与第二固定杆转动连接,至少部分第四平板位于第二容纳空间内,第三平板与第四平板通过合页铰链连接,且夹设于第一分部和第二分部之间;第五分部包括网纱,网纱分别与第一分部、第二分部、第三分部和第四分部连接。本申请提供的用于临床使用的检查治疗床既可以固定氧气瓶,又可以解决导致医患在病床前移动不便的问题。

























