授权专利
【实用新型】用于艾灸加热的支撑架
公开(公告)号: CN214968968U
摘要附图:

标题: 用于艾灸加热的支撑架
专利类型: 实用新型
申请日: 2021-01-08
公开(公告)日: 2021-12-03
发明人: 屈静
当前申请(专利权)人: 首都医科大学附属北京潞河医院
IPC分类号: A61H39/06 | F23D3/02 | F23D3/18
法律状态/事件: 授权
技术功效: [0010]该支撑架整体起到支撑作用,无需医务人员手部拿着插接好艾柱的艾柱盖对艾柱进行点燃,从而避免艾柱掉艾灰烫伤操作者的手部,也能够提高医护人员的工作效率,通过伸缩管能够调节底板和顶板之间的高低,从而确保顶板和底板之间具有合适的间距,进而有效保证酒精灯点燃艾柱盖上的艾柱;通过凹槽不仅能够避免酒精灯倾倒,而且通过放置于凹槽的酒精灯对艾柱盒上的多个艾柱同时进行点燃,使每个艾柱受热更均匀,避免浪费材料,同时节约时间和节省人力,并且,通过防滑颗粒增加底板与物体表面的摩擦力,从而避免底板出现滑行现象,增加其安全性。 [0011]当然,实施本实用新型的任一产品必不特定需要同时达到以上所述的所有技术效果。 [0012]通过以下参照附图对本实用新型的示例性实施例的详细描述,本实用新型的其它特征及其优点将会变得清楚。
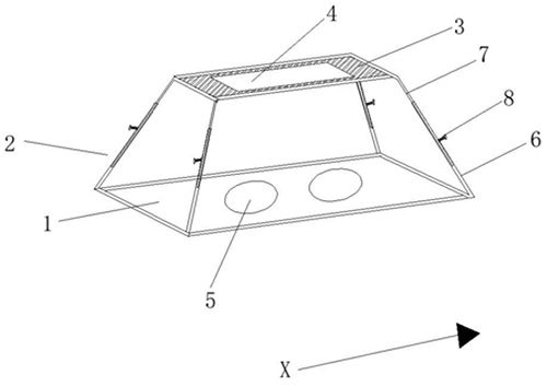
摘要: 本实用新型公开了用于艾灸加热的支撑架,包括底板和顶板,底板和顶板之间通过至少两个伸缩管相连接,顶板上设置有镂空部,底板上设置有至少一个凹槽,凹槽沿第一方向排列,第一方向为沿镂空部的长度方向,底板、顶板和伸缩管的外表面涂设有防火层,伸缩管包括外管和内管,外管和内管之间通过调节螺栓相连接,底板远离凹槽一侧设置有至少一个防滑颗粒,防滑颗粒沿第一方向和第二方向排列。本实用新型整体起到支撑作用,无需医务人员手部拿着插接好艾柱的艾柱盖对艾柱进行点燃,也能够提高医护人员的工作效率;通过放置于凹槽的酒精灯对艾柱盒上的多个艾柱同时进行点燃,使每个艾柱受热更均匀,避免浪费材料,同时节约时间和节省人力。

























