授权专利
【实用新型】一种用于直肠癌患者放射治疗的体位固定装置
公开(公告)号: CN214971272U
摘要附图:

标题: 一种用于直肠癌患者放射治疗的体位固定装置
专利类型: 实用新型
申请日: 2021-04-30
公开(公告)日: 2021-12-03
发明人: 石鑫珏
当前申请(专利权)人: 首都医科大学附属北京潞河医院
IPC分类号: A61N5/10
法律状态/事件: 授权
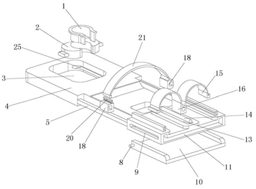
技术功效: [0015]1.通过在支撑板上的两组固定块之间设置稳定组件,当患者俯卧在支撑板上后,使患者照射部位对准照射口,然后可通过调节设置的稳定组件,将患者的腰部进行稳固,即可避免患者腰部扭动; [0016]2.通过设置的两条第一绑带,当患者俯卧在支撑板上后,可利用两条第一绑带将患者的两条大腿进行捆绑,以将大腿进行固定,避免患者扭动产生位移。
摘要: 本实用新型公开了一种用于直肠癌患者放射治疗的体位固定装置,包括支撑板,支撑板上设置有两组固定块,两组固定块之间设置有稳定组件;支撑板上分别开设有照射口、放置孔与滑槽;滑槽内穿设有导向杆,导向杆上套设有滑块,滑块上设置有两条第一绑带,两条第一绑带一端均设置有卡接块,支撑板上设置有两组卡块;放置孔内壁开设有两组卡槽,两组卡槽之间卡设有放置垫,本实用新型通过在支撑板上的两组固定块之间设置稳定组件,当患者俯卧在支撑板上后,可通过调节设置的稳定组件,将患者的腰部进行稳固,即可避免患者腰部扭动;再利用两条第一绑带可将患者的两条大腿进行捆绑,以将大腿进行固定,避免患者扭动产生位移。

























