授权专利
【实用新型】一种用于上肢保护的托手组件
公开(公告)号: CN216439548U
摘要附图:

标题: 一种用于上肢保护的托手组件
专利类型: 实用新型
申请日: 2021-06-12
公开(公告)日: 2022-05-06
发明人: 刘超
当前申请(专利权)人: 首都医科大学附属北京潞河医院
IPC分类号: A61G13/12 | A61G13/10
法律状态/事件: 授权
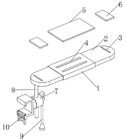
技术功效: [0012]1、本实用新型的一种用于上肢保护的托手组件,托手板的两端均设置有可伸缩的伸缩板,托手板便于调节长度,便于根据实际需求进行使用,且托手板与伸缩板之间通过销钉固定,固定方便,销钉设置在沉孔中,未突出于托手板表面,使得托手板表面光滑,无阻挡物; [0013]2、本实用新型的一种用于上肢保护的托手组件,托手板的上表面设有两端第二魔术母贴,伸缩板的上表面端部固定设有第一魔术母贴,托手板的上方设有主保护垫,伸缩板的上方设有次保护垫,主保护垫的底面设有与第二魔术母贴之间相互粘合固定的第二魔术公贴,次保护垫的底面设有与第一魔术母贴之间相互粘合固定的第一魔术公贴,托手板和伸缩板上方通过保护垫与上肢接触,保护性高。
摘要: 本实用新型公开了一种用于上肢保护的托手组件,涉及到肢体保护领域,包括托手板的两端均设置有可伸缩的伸缩板,托手板便于调节长度,便于根据实际需求进行使用,且托手板与伸缩板之间通过销钉固定,固定方便,销钉设置在沉孔中,未突出于托手板表面,使得托手板表面光滑,无阻挡物;托手板的一侧设有固定在伸缩板端部的连接杆,连接杆的中部位置套设有外连接柱,外连接柱的一端设有转动杆,转动杆贯穿压紧柱,压紧柱的一端固定连接在外连接柱的表面,通过转动杆可改变托手板位置。

























