授权专利
【实用新型】一种新型呼吸机用集水杯
公开(公告)号: CN215386703U
摘要附图:

标题: 一种新型呼吸机用集水杯
专利类型: 实用新型
申请日: 2021-07-27
公开(公告)日: 2022-01-04
发明人: 李婷
当前申请(专利权)人: 首都医科大学附属北京潞河医院
IPC分类号: A61M16/00
法律状态/事件: 授权
技术功效: [0014]1、通过设置的集水杯主体,通过螺纹连接圈与螺纹连接槽的配合,将杯盖进行连接固定,通过设置的密封圈,则可以提高杯盖的安装密封性,当杯盖安装后,则可以通过顶杆将堵杆进行顶进连接套中,则可以便于Y型连接管中的冷凝水从连接套灌入内筒中,冷凝水从出液管灌入集水杯主体与内筒之间的集液槽中,当集水杯主体倾斜时,则可以将集液槽中的冷凝水灌入倒锥形套圈处,通过倒锥形套圈放置液体快速倒流,以防倾斜洒出,通过隔板将冷凝水阻挡,有效的防止洒出,提高该装置的使用效果,当使用人员需要排放清理时,则可以带动排污阀进行清理,便于使用人员进行使用,相对于传统方式更好。 [0015]2、通过设置的堵杆,为了能够在杯盖拆下后更好的防泄漏,则可以通过镂空连接座设置的连接弹簧顶住顶板,将堵杆顶起后将连接套堵住,配合着顶板设置的密封垫贴合连接套,则可以提高密封性,有效的防止冷凝水泄露,提高该装置的实用性,便于使用人员进行使用,相对于传统方式更好。
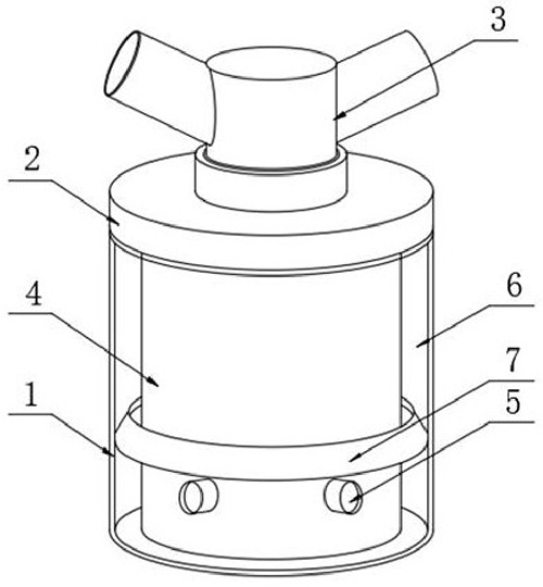
摘要: 本实用新型涉及呼吸机设备领域,具体为一种新型呼吸机用集水杯,包括集水杯主体,所述集水杯主体的顶端一侧设置有杯盖,所述杯盖的顶端一侧设置有Y型连接管,所述集水杯主体的内部一侧固定安装有内筒,且集水杯主体与内筒的圆心点设置在同一处,所述内筒的外壁一周等距设置有出液管,所述集水杯主体与内筒之间设置有集液槽,所述集水杯主体的内壁一侧固定安装有倒锥形套圈,且倒锥形套圈套设在内筒的外壁一侧,所述杯盖的底端一侧固定安装有螺纹连接圈。本实用新型所述的一种新型呼吸机用集水杯,能够使得整体装置实现防止冷凝水洒落,降低感染的几率,提高整体装置的实用性,带来更好的使用前景。

























